要求二
1.实验代码
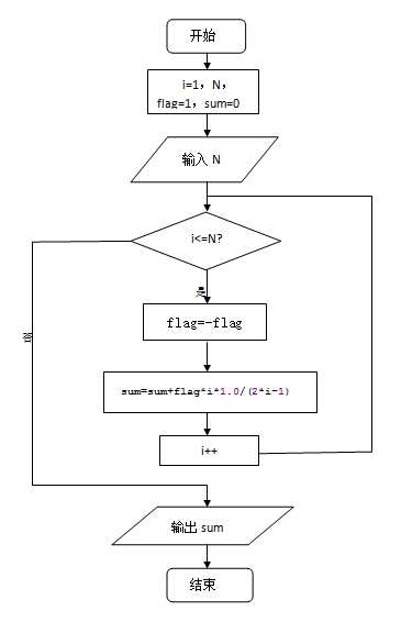
#include<stdio.h> int main(){ int i,N,flag=1; double sum; scanf("%d",&N); sum=0; for(i=1;i<=N;i++){ sum=sum+flag*i*1.0/(2*i-1); flag=-flag; } printf("%.3f",sum); return 0; }
2.设计思路
(1)第一步:读懂题意,定义整型变量i,N,flag和浮点型变量sum。
第二步:scanf语句输入变量N的数值,并使sum=0。
第三步:用for语句循环。
第四步:输出注意保留三位小数。
(2)流程图

3.本题调试过程中碰到的问题及解决方法
错误:sum的定义使用float了,导致提交结果错误。

解决方法:询问了同学,和同学的代码作比较,找出了错在了哪;sum应该用double定义。
4.本题PTA提交列表

题目7-5 统计学生平均成绩及及格人数
1.实验代码
#include <stdio.h> int main() { int n,i,count=0,a[10000]; double sum=0,aver; scanf("%d",&n); for(i=0;i<n;i++) scanf("%d",&a[i]); for(i=0;i<n;i++) { if(a[i]>=60) count++; sum=sum+a[i]; } if(n!=0) aver=sum/n; printf("average = %.1f\ncount = %d\n",aver,count); return 0; }
2.设计思路
(1)第一步:定义整型变量和双精度变量。
第二步:for循环执行语句。
第三步:for语句后加if条件语句判断。
第四步:输出结束。
(2)流程图
3.本题调试过程中碰到的问题及解决方法
错误:int定义变量时没有加a[10000].

解决方法:问同学,我不明白a[10000]是什么意思。
4.本题PTA提交列表

要求四
上传到coding.net的截图

Git地址:
要求五
个人总结:
(1)本周继续强化了for语句和switch语句
(2)对于我来说难点是for语句和switch语句,而且我不会画流程图,就目前情况来看,我已经跟不上了。
要求六
1.我的点评
刘泽华:
马宇欣:
孙美玲:
2.表格及折线图
|
代码行数 |
时间/min | 博客字数 | 时间/min | |
| 1 | 13 | 20 | 0 | 0 |
| 2 | 11 | 40 | 0 | 0 |
| 3 | 14 | 50 | 80 | 35 |
| 4 | 15 | 45 | 0 | 0 |
| 5 | 19 | 200 | 100 | 35 |
| 6 | 27 | 20 | 0 | 0 |
| 7 | 11 | 200 | 0 | 0 |
| 8 | 22 | 200 | 0 | 0 |

原文:http://www.cnblogs.com/yaoshuang/p/7827699.html