(一)改错题
序列求和:输入一个正实数eps,计算序列部分和 1 - 1/4 + 1/7 - 1/10 + ... ,精确到最后一项的绝对值小于eps(保留6位小数)。
输入输出样例:
Input eps:1E-4
s = 0.835699
源程序(有错误的程序)
#include<stdio.h>
int main()
{
int flag,n;
double eps,item,s;
printf("Input eps: ");
scanf("%f",&eps);
flag = 1;
s = 0;
n = 1;
do{
item = 1/ n;
s = s + flag * item;
flag = -flag;
n = n + 3;
}while( item < eps)
printf( "s = %f\n",s);
return 0;
}
错误信息:

错误原因:while后边没有加分号。
改正方法:在while后的括号后加上分号。
错误信息:

错误原因:item 顶一顶为double类型,但是1/n 为int类型,格式不对
改正方法:将item的算式中的1改为1.0。
错误信息:

错误原因:do....while语句循环的条件写成了循环结束的条件。
改正方法:将while( item < eps)改成while( item >=eps).
错误信息:

错误原因:题中eps定义的是double格式
改正方法:将%f改为%lf,且将输出中的%f改成%.6f来确保输出结果为六位小数。
(二)学习总结
1.语句while(1)和for(;;)是什么意思?,如何保证这种循环能正常执行?
答:
while后括号中为循环条件,即当循环条件为真是循环执行,那么while(1)是,“1”代表为真,所以此时为无限循环。for( ; ; )后括号中的三个表达式作用分别为:一给判断的值赋值,只执行一次;二判断条件;三变量的的变化情况。当三个括号为空时,即次时为无限循环。
为保证此程序正常进行应加入判断语句,并在后加入break。即当判断语句为真实跳出此循环。
2.一般情况下,设计循环结构时,使用for、while、do while三种语句都可以,并且三种语句可以相互转换,但是,在某些特定情况下,我们应该优先选择某种语句来快速实现循环设计。如果有如下情况:
(1)循环次数已知
(2)循环次数未知,但循环条件在进入循环时明确
(3)循环次数未知,且循环条件在进入循环时未知,需要在循环体中明确
针对上面三种情况,分别采用什么循环语句实现比较好?对每种情况,用我们完成的两次循环结构作业中的题目加以说明。
1)当循环次数已知时用for语句比较好,例如:7-1求奇数分之一序列前n项和。
2)当循环次数未知时 ,但是给出了条件控制时,用while语句比较好,先判断后执行,例如:7-2 猜数字游戏。
3)当循环次数未知,且循环条件在进入循环时未知,需要在循环体中明确时,用do-while较好,先循环后判断,例如:7-6 掉入陷阱的数字。
3.有如下问题:输入一批学生成绩,以-1作为结束,计算学生的平均成绩。
要求分别用for语句、while语句、do while语句和无限循环四种循环语句实现,并说明你认为哪种形式更合适?
①for语句:
#include<stdio.h>
int main()
{
int n,i=0,sum=0;
double average;
for(;;)
{
scanf("%d",&n);
if(n!=-1)
{
sum=sum+n;
i++;
}
else
{
break;
}
}
average=(double)sum/i;
printf("%f",average);
return 0;
}
②while语句:
#include<stdio.h>
int main(void)
{
int grade=0,sum=0,i=0;
double average=0.0;
i=0;
while(grade!=-1)
{
scanf("%d",&grade);
sum = sum + grade;
i++;
}
average = (sum+1) / (double)(i-1);
printf("%f",average);
return 0;
}
③do while语句:
#include<stdio.h>
int main(void)
{
int grade=0,sum=0,i=0;
double average=0.0;
i=0;
do
{
scanf("%d",&grade);
sum = sum + grade;
i++;
}
while(grade!=-1) ;
average = (sum+1) / (double)(i-1);
printf("%f",average);
return 0;
}
④无限循环语句:
#include<stdio.h>
int main(void)
{
int grade=0,sum=0,i=0;
double average=0.0;
while(1)
{
scanf("%d",&grade);
if(grade!=-1)
{
sum = sum +grade;
i++;
}
else if(grade==-1)
{
break;
}
}
average = sum / i;
printf("%f",average);
return 0;
}
4.运行下面程序,输入1到10,结果分别是什么?为什么?
(1)
#include<stdio.h>
int main()
{
int n,s,i;
s = 0;
for(i = 1; i <= 10; i++)
{
scanf("%d",&n);
if(n % 2 == 0)
break;
s = s + n;
}
printf("s = %d\n",s);
return 0;
}
结果:

(2)
#include<stdio.h>
int main()
{
int n,s,i;
s = 0;
for(i = 1; i <= 10; i++)
{
scanf("%d",&n);
if(n % 2 == 0)
continue;
s = s + n;
}
printf("s = %d\n",s);
return 0;
}
结果:

这两个程序的唯一区别就是第一个语句用的break循环控制语句,而第二个语句用的是continue循环控制语句,这两个循环控制语句的区别就是break是结束循环并且跳出这个循环语句,然后执行循环之外的语句,这个语句当输入2是就跳出循环了,而continue则是结束本次循环,跳出此次循环继续下一次的循环,直到这个正常结束为止,这个语句求得是1-10的奇数的和,所以这两个程序的答案不一样。
(三)实验总结
1.求给定精度的简单交错序列部分和(10 分)
(1)题目
本题要求编写程序,计算序列部分和 1 - 1/4 + 1/7 - 1/10 + ... 直到最后一项的绝对值不大于给定精度eps。
注意:循环条件的写法
输入格式:
输入在一行中给出一个正实数eps。
输出格式:
在一行中按照“sum = S”的格式输出部分和的值S,精确到小数点后六位。题目保证计算结果不超过双精度范围。
输入样例1:
4E-2
输出样例1:
sum = 0.854457
输入样例2:
0.02
输出样例2:
sum = 0.826310
(2)流程图

(3)源程序
#include<stdio.h>
#include<math.h>
int main()
{
int b=1,y=-1;
double sum=0,eps;
scanf("%lf",&eps);
while(fabs(y*1.0/b)>=eps)
{
y=-y;
sum=sum+1.0/b*y;
b+=3;
}
printf("sum = %.6f",sum);
return 0;
}
(4)实验分析
问题1:这道题不能用while
原因:此程序至少要循环一次
解决办法:要用do while语句
(5)本题PTA提交列表

2.猜数字游戏
(1)题目
猜数字游戏是令游戏机随机产生一个100以内的正整数,用户输入一个数对其进行猜测,需要你编写程序自动对其与随机产生的被猜数进行比较,并提示大了(“Too big”),还是小了(“Too small”),相等表示猜到了。如果猜到,则结束程序。程序还要求统计猜的次数,如果1次猜出该数,提示“Bingo!”;如果3次以内猜到该数,则提示“Lucky You!”;如果超过3次但是在N(>3)次以内(包括第N次)猜到该数,则提示“Good Guess!”;如果超过N次都没有猜到,则提示“Game Over”,并结束程序。如果在到达N次之前,用户输入了一个负数,也输出“Game Over”,并结束程序。
输入格式:
输入第一行中给出两个不超过100的正整数,分别是游戏机产生的随机数、以及猜测的最大次数N。最后每行给出一个用户的输入,直到出现负数为止。
输出格式:
在一行中输出每次猜测相应的结果,直到输出猜对的结果或“Game Over”则结束。
输入样例:
58 4
70
50
56
58
60
-2
输出样例:
Too big
Too small
Too small
Good Guess!
(2)流程图


(3)源代码
#include<stdio.h>
int main()
{
int a = 0,N = 0,i = 0,b = 0;
scanf("%d%d",&a,&N);
for(i = 1;i <= N;i++)
{
scanf("%d",&b);
if(b < 0 )
{
printf("Game Over");
break;
}
else if(b > a)
{
printf("Too big\n");
}
else if(b < a)
{
printf("Too small\n");
}
else if(a == b)
{
if(i == 1)
{
printf("Bingo!");
break;
}
else if(i <= 3 && i > 1)
{
printf("Lucky You!");
break;
}
else if(i > 3)
{
printf("Good Guess!");
break;
}
break;
}
if(i >= N)
{
printf("Game Over");
break;
}
}
return 0;
}
(4)实验分析
问题;当你数入的数字超过次数之后才结束程序
原因:在相等得时候没算结束了
解决办法:把i<N改为i<=N即可
(5)本题PTA提交列表

3.求奇数和
(1)题目
本题要求计算给定的一系列正整数中奇数的和。
注意:第一个值为负的情况。Sum初值
输入格式:
输入在一行中给出一系列正整数,其间以空格分隔。当读到零或负整数时,表示输入结束,该数字不要处理。
输出格式:
在一行中输出正整数序列中奇数的和。
输入样例:
8 7 4 3 70 5 6 101 -1
输出样例:
116
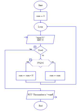
(2)流程图

(3)源代码
#include<stdio.h>
int main()
{
int sum=0,n;
scanf("%d",&n);
while(n>0)
{
if(n%2==0)
{
sum=sum;
}
else
{
sum+=n;
}
scanf("%d",&n);
}
printf("%d",sum);
return 0;
}
(4)实验分析:
本题没啥问题,注意不要读取最后一个零或负数。
(5)本题PTA提交列表

(四)博客互评
1、吴晗;http://www.cnblogs.com/moying456/p/7859207.html
2、http://www.cnblogs.com/wangqi1998/p/7846847.html
3、http://www.cnblogs.com/shaosiming/p/7854102.html
原文:http://www.cnblogs.com/panjiupeng/p/7859354.html