BACKGROUND OF THE INVENTION
The present invention relates to a semiconductor integrated circuit device having a PN Vt balance compensation circuit for compensating a threshold voltage difference between a PMOS transistor and an NMOS transistor and capable of operating with even a decreased power supply voltage while maintaining an optimum operation state. In recent years, as portable information terminals became widespread, further reduction in power is required for a CMOS LSI, and reduction in a power supply voltage, which is the most effective for power reduction, is being progressed. However, with a lower power supply voltage, variation in performance of a circuit according to processes and due to temperature change increases. An example of a technique of compensating such variations in performance of a circuit is, for example, as disclosed in Japanese Unexamined Patent Application No. 2001-156261 by the inventors herein, a technique of detecting operation speed of a main circuit and controlling a body bias so as to maintain the operation speed at a desired performance. The operation speed compensation is realized by detecting the operation speed of a main circuit by a delay monitor simulating a critical path of the main circuit, controlling a body bias of the delay monitor so as to maintain the operation speed of the delay monitor almost constant synchronously with input clocks, and applying the body bias also to the main circuit. In the Japanese Unexamined Patent Application No. 2001-156261, it is expressed as a technique of controlling the body bias. Substantially, the technique is to control biases of an N well and a P well for constructing a PMOS transistor and an NMOS transistor. In the following, in the invention, it will be described as the technique of controlling the bias of each of the N well and the P well for constructing a PMOS transistor and an NMOS transistor.
SUMMARY OF THE INVENTION
When the performance of a transistor varies according to a fabricating process and a difference occurs between a threshold voltage of a PMOS transistor and a threshold voltage of an NMOS transistor, even if the circuit speed is the same, leakage currents of the circuits may differ from each other. This happens for the reason that the leakage current depends on, not the circuit operation speed, but a threshold voltage of a transistor. In the technique, the body bias is controlled to maintain the operation speed, so that the circuit speed can be compensated. However, when the threshold voltage varies, the leakage current cannot be compensated. If decrease in the voltage is further advanced and the threshold voltage of a transistor decreases in future, the variations in the threshold voltage become conspicuous. As a result, the leakage current increases, and the ratio of the power consumption corresponding to the leakage current in the power consumption of the circuit increases. Consequently, compensation of the leakage current is an important technique.
According to the invention, as a well bias control circuit for compensating the threshold voltage difference between a PMOS transistor and an NMOS transistor, in a part of the region of a main circuit constructed by a CMOS, a control circuit simulating a critical path of the main circuit constructed by the CMOS and including a delay monitor for monitoring a delay in the path is formed in a process of forming the main circuit. The control circuit is provided with a PN Vt balance compensation circuit for compensating an output of the delay monitor in accordance with the threshold voltage difference between the PMOS and NMOS transistors, thereby compensating the circuit speed by monitoring the delay of the path and compensating the threshold voltage difference between the PMOS and NMOS transistors by the PN Vt balance compensation circuit.
DESCRIPTION OF THE PREFERRED EMBODIMENTS
Before describing embodiments of the invention herein below with reference to the drawings, a basic form of a semiconductor integrated circuit of the invention will be described by referring to FIG.?1.
In?FIG. 1,?10?denotes a region in which a main circuit of a semiconductor integrated circuit of the invention is to be constructed.?FIG. 1?schematically shows an inverter having a CMOS configuration as an example of a component circuit of the main circuit. Vdd denotes a power supply voltage, and Vss indicates a ground.?11?denotes a region in which a control circuit of the semiconductor integrated circuit of the invention is to be constructed and which occupies a part of the region?10?where the main circuit is to be formed. In the diagram, it seems that the control circuit?11?occupies many of the elements of the main circuit?10?but it is for convenience of forming the drawing. In reality, the control circuit?11?occupies about 1% or less of the main circuit?10. In the control circuit?11, a delay circuit obtained by cascade-connecting a number of inverters each having the same configuration as that of a CMOS inverter of the main circuit?10?and a well bias generator are schematically shown as representative components. The number of stages of cascade-connected inverters can be adjusted to simulate delay time corresponding to delay time of a circuit having the longest delay (called a critical path) in the main circuit. In the control circuit?11?as well, Vdd denotes a power supply voltage and Vss indicates a ground. As will be described later, the well bias generator generates bias voltages vbap and vban to an N well and a P well, respectively, appropriate to eliminate the threshold voltage difference between a PMOS transistor and an NMOS transistor in accordance with outputs of the delay circuit and a PN Vt balance compensation circuit. The bias voltages vbap and vban are supplied to-the N well and P well of the control circuit11?and the main circuit?10.
FIG. 2?is a block diagram showing a first embodiment of the control circuit?11?illustrated in FIG.?1. In the embodiment, the control circuit?11?is constructed by a delay monitor?21, a comparator?22, a PN Vt balance compensation circuit?23, a shift register?24, a well bias generator?25, and an adder?26.
The delay monitor?21?is, as described above, to simulate a critical path of the main circuit?10?and receives a clock signal. The clock signal is a clock signal of the main circuit?10. From the delay monitor?21, therefore, a clock signal having a delay corresponding to delay time of the critical path of the main circuit?10?is obtained as a delay signal. The delay signal of the delay monitor?21?and the clock signal are supplied to the comparator?22. The comparator?22?compares the signals to detect a phase difference and outputs a signal "up" when the delay time is shorter than a design parameter or a signal "down" when the delay time is longer than the design parameter. The shift register?24?receives the signal "up" or "down". Each time the signal "up" is input, the shift register?24?increases a signal adrp as a control signal for PMOS well bias and a signal adrn as a control signal for NMOS well bias by one stage. On the contrary, each time the signal "down" is input, the shift register?24?decreases the signals adrp and adrn by one stage. The PN Vt balance compensation circuit?23?outputs a signal "diff" as a difference signal of the threshold voltage of the PMOS transistor and the threshold voltage of the NMOS transistor, which will be described in detail hereinlater. The signal diff as the difference signal acts so that the difference between the signals adrp and adrn of the shift register?24?corresponds to the signal diff, and is used to reflect the difference between the threshold voltage of the PMOS transistor and the threshold voltage of the NMOS transistor.?26?denotes the adder for reflecting the difference. The adder?26?adds the difference signal diff of the PN Vt balance compensation circuit?23?to the signal adrn of the shift register?24?with the sign shown in the diagram, thereby converting the signal adrn to a signal adrn′. If the difference signal diff is positive, the difference between the signals adrp and adrn′ increases. If the difference signal diff is negative, the difference between the signals adrp and adrn′ decreases. Therefore, signal adrn′ is a signal obtained by modifying the signals adrp and adrn of the shift register?24?only by an amount corresponding to the difference signal diff. The well bias generator?25?receives the signal adrp, determines vbap as the PMOS well bias signal. The well bias generator?25?also receives the signal adrn′ and determines vban as the NMOS well bias signal. The well bias signals vbap and vban are supplied to the well terminals of the main circuit?10?and the delay monitor?21. That is, in the invention, by using the well bias signals, not only variations in delay time according to an output of the delay monitor but also variations in the threshold voltages of the PMOS and NMOS transistors can be compensated.
In the embodiment, when the signals adrp and adrn increase by one stage, the well bias signal voltages vbap and vban are increased by a predetermined voltage unit. When the signals adrp and adrn decrease by one stage, the well bias signal voltages vbap and vban are decreased by a predetermined voltage unit. In the specification, to increase the well bias in the direction of back bias of a MOSFET is expressed as "to increase the well bias", and to increase the well bias in the direction of forward bias is expressed as "to decrease the well bias". It is accordingly understood that when a back bias is applied to the well, the operation speed of the CMOS circuit decreases, and when a forward bias is applied, the operation speed increases.
FIG. 3?is a block diagram showing an example of the PN Vt balance compensation circuit?23?in FIG.?2. The PN Vt balance compensation circuit?23?is constructed by a logical threshold voltage detector?31, a reference voltage generator?32, a comparator?33, a difference detector?34, and a well bias generator?35?for PN Vt balance.
The logical threshold voltage detector?31?detects the logical threshold voltage of a CMOS circuit and outputs the voltage as a signal vlog. The reference voltage generator?32?outputs two kinds of reference voltage signals refa and refb. The comparator?33?compares the signal voltage vlog with the signal voltages refa and refb, when the signal voltage vlog is higher than the signal voltages refa and refb, outputs the signal "up" and, when the signal voltage vlog is lower than the signal voltages refa and refb, outputs the signal "down". When the signal voltage vlog lies between the signal voltages refa and refb, both of the signals "up" and "down" are not output. The difference detector?34?increases the signal adrs by one stage each time the signal "up" is input and decreases the signal adrs by one stage each time the signal "down" is input. The difference detector?34also outputs a deviation of the signal adrs from a standard value, that is, the difference between the signals "up" and "down" as the signal diff. The well bias generator?35?for PN Vt balance receives the signal adrs and outputs a signal vbp as a PMOS well bias and a signal vbn as an NMOS well bias. When the signal adrs increases by one stage, the well bias generator?35?for PN Vt balance increases each of the signals vbp and vbn by a predetermined voltage unit. When the signal adrs is decreased by one stage, the well bias generator?35?for PN Vt balance decreases each of the signal voltages vbp and vbn by a predetermined voltage unit. As initial values of the signal voltages vbp and vbn, design parameters are employed. Although both of the signals vbp and vbn are controlled in?FIG. 3, either one of the signals vbp and vbn may be controlled.
FIG. 4?shows an example of the logical threshold voltage detector?31?in FIG.?3. An output terminal and an input terminal of a CMOS inverter constructed by a PMOS transistor?41?and an NMOS transistor?42?are short-circuited, and the signal vlog is obtained at the node. The signal vlog is an output of the logical threshold voltage of the CMOS inverter. As an example of the logical threshold voltage, when it is assumed that the gate width of the PMOS transistor?41?is twice as wide as that of the NMOS transistor?42, the logical threshold voltage becomes almost the half of the power supply voltage. However, the invention is not particularly limited to the condition. The well voltage of the PMOS transistor?41?is connected to the power supply voltage Vdd. By controlling the well voltage signal vbn of the NMOS transistor?42, the logical threshold voltage of the CMOS inverter is controlled. In this example, the control is performed only by the signal vbn in FIG.?3.
The logical threshold voltage detector?31?is not limited to the circuit example of?FIG. 4?but can be realized in various circuit modes. For example, it is also possible to reverse the relation of the PMOS transistor?41?and the NMOS transistor?42?and to control the well voltage signal vbp of the PMOS transistor?41, thereby controlling the logical threshold voltage of the CMOS inverter. The logical threshold voltage of the CMOS inverter may be controlled by controlling both of the well voltage signal vbp of the PMOS transistor?41?and the well voltage signal vbn of the NMOS transistor?42. Further, the logical threshold voltage detector?31?may be constructed by the PMOS transistor?41?and the NMOS transistor?42, the signal vlog is obtained at the drain of each of the PMOS transistor?41?and the NMOS transistor?42, and a gate voltage signal vgp of the PMOS transistor?41?and a gate voltage signal vgn of the NMOS transistor?42?are supplied. The well voltage of the PMOS transistor?41?is connected to the power supply voltage Vdd and the well voltage signal vbn of the NMOS transistor?42?is controlled, thereby controlling the signal voltage vlog. As an example of the logical threshold voltage in this case, when the gate width of the PMOS transistor?41?is set twice as wide as that of the NMOS transistor?42, the signal vgp is set to a power supply potential, and the signal vgn is set to a ground potential, the signal voltage vlog becomes almost the half of the power supply voltage. However, the invention is not limited particularly to the condition. In the standby mode, by fixing the signal vgp to the ground potential and fixing the signal vgn to the power supply potential, a penetration current can be eliminated. By reversing the relation between the PMOS transistor?41?and the NMOS transistor?42?in a similar configuration and controlling the well voltage signal vbp of the PMOS transistor?41, the logical threshold voltage of the CMOS inverter can be controlled. Further, by controlling both of the well voltage signal vbp of the PMOS transistor41?and the well voltage signal vbn of the NMOS transistor?42?in a similar configuration, the logical threshold voltage of the CMOS inverter may be controlled.
FIG. 5?shows an example of the reference voltage generator?32?in FIG.?3. In the example, the reference voltage generator?32?is constructed by at least three resistors and, by dividing the power supply voltage Vdd, the reference voltage signals refa and refb are output.

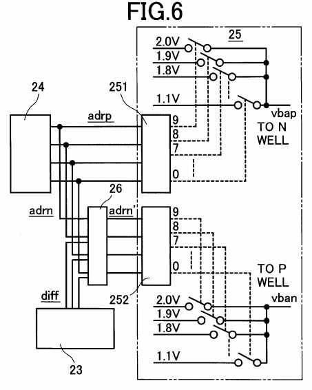
FIG. 6?shows a concrete example of the relations among the PN Vt balance compensation circuit?23, shift register?24, well bias generator?25, and adder?26?by using a concrete example of the well bias generator?25?in?FIG. 2?as a main component. In the diagram, it is assumed that the well bias generator?25?can generate well biases of 10 levels. The shift register?24?receives the signals "up" and "down" and generates a signal adrp of four bits. In the example, the signal adrn is the same as the signal adrp. To the signal adrn, the difference signal diff of the PN Vt balance compensation circuit?23?is added by the adder?26, thereby converting the signal adrn into a signal adrn′. The difference signal diff consists of three bits from the LSD side of the signal adrp. The well bias generator?25?is provided with decoders?251?and?252. According to the signals adrp and adrn′, a signal is output to any of output terminals 0 to 9. Further, as shown in the diagram, the well bias generator?25?has wires connected to the voltages sources of 1.1V to 2.0V in increments of 0.1V. As schematically shown by switches, according to a signal appearing at any of the output terminals 0 to 9 of the decoders?251?and?252, one of the voltages is selected and supplied as an N-well bias vbap and a P-well bias vban to each well terminal. For example, when a signal appears at the output terminal 8 of the decoder?251, the N-well bias vbap is set as 1.9V. When a signal appears at the output terminal 7 of the decoder?252, the P-well bias vban is set as 1.8V.
FIG. 7?is a block diagram showing another example of the PN Vt balance compensation circuit?23?in?FIG. 2, which is constructed by the logical threshold voltage detector?31, a comparator?72, the difference detector?34, and the well bias generator?35?for PN Vt balance. As obviously understood from comparison with?FIG. 3, in this example, a circuit corresponding to the reference voltage generator?32?can be omitted. It is realized by constructing the comparator?72?by two kinds of CMOS inverters of different logical threshold voltages corresponding to the reference voltage. The general operation of the PN Vt balance compensation circuit?23?in the configuration of?FIG. 7?is similar to that of?FIG. 2?except that the operation of the comparator?72?is different from that of the comparator?33?in FIG.?2.

FIG. 8?is a circuit diagram showing an-example of the comparator?72?in FIG.?7. The comparator?72?is constructed by two kinds of CMOS inverters?81and?82?of different logical threshold voltages. The logical threshold voltage of the CMOS inverter?81?is set to be higher than that of the CMOS inverter?82. If the signal voltage vlog is higher than the logical threshold voltage of the CMOS inverter?81, the signal "up" is output. On the contrary, if the signal voltage vlog is lower than the logical threshold voltage of the CMOS inverter?82, the signal "down" is output. If the signal voltage vlog lies between the logical threshold voltage of the CMOS inverter?81?and the logical threshold voltage of the CMOS inverter?82, none of the signals "up" and "down" are output. That is, by using the threshold values, the circuit corresponding to the reference voltage generator?32?in?FIG. 3?is omitted.
Although the signal adrn out of the signals adrp and adrn is modified with an output of the PN Vt balance compensation circuit in the first embodiment, the signal adrp may be modified. It is sufficient to change the modifying method according to the signal to be modified. This point will be the same in the following embodiments.
As described above, a signal for compensating the operation speed of the CMOS LSI is obtained by the delay monitor?21?and is modified with a signal of the PN Vt balance compensation circuit, thereby enabling the threshold voltage difference between the PMOS transistor and the NMOS transistor to be eliminated.
The effects of the control according to the embodiment will now be briefly described with reference to?FIGS. 9?to?11.
FIG. 9?is a graph of delay time of a certain circuit with respect to variations in the threshold voltage of a device caused by fabrication variations.?91denotes a delay of the circuit in which the threshold voltages of PMOS and NMOS transistors are equal to the design parameters. As shown as "pmos: standard" and "nmos: standard", the delay is about 3.8 ns. In contrast, in the case of "pmos: low" and "nmos: high" as shown by?92, delay is slightly reduced. In the case of "pmos: high" and "nmos: low" as shown by?93, delay is slightly increased. In the case of "pmos: low" and "nmos: low" as shown by?94, delay is largely reduced. In the case of "pmos: high" and "nmos: high" as shown by?95, delay is largely increased. "standard", "low", and "high" denote that "the threshold voltage of a transistor is almost equal to a design parameter", "the threshold voltage of a transistor is lower than a design parameter to a certain degree", and "the threshold voltage of a transistor is higher than a design parameter to a certain degree", respectively.
FIG. 10?is a graph similarly showing the leakage current of a certain circuit with respect to variations in the threshold voltage of a device caused by fabrication variations.?101?denotes a leakage current of a circuit in which the threshold voltage of each of PMOS and NMOS transistors is equal to a design parameter. As shown by "pmos: standard" and "nmos: standard", the leakage current is about 100 nA. In contrast, in the case of "pmos: low" and "nmos: high" as shown by?102?and in the case of "pmos: high" and "nmos: low" as shown by?103, the leakage current largely increases. On the other hand, in the case where "pmos: low" and "nmos: low" as shown by?104, the leakage current largely increases. In the case where "pmos: high" and "nmos: high" as shown by?105, the leakage current largely decreases.
When the well bias control is performed in correspondence with the operation speed (delay) like Japanese Unexamined Patent Application No. 2001-156261, as shown by a hollow arrow in?FIG. 9, the delay is compensated to delay time?91?shown by the case of "pmos: standard" and "nmos: standard". As a result, as shown by solid-line arrows in?FIG. 10, leakage currents indicated by?104?and?105?are also compensated to the leakage current?101?shown by the case of "pmos: standard" and "nmos: standard". However, as in the case of "pmos: low" and "nmos: high" and in the case of "pmos: high" and "nmos: low", when the delay is slightly shortened/increased as shown by?92?and?93, there is hardly a difference from the delay time in the case of "pmos: standard" and "nmos: standard". Consequently, effects of the well bias control corresponding to the delay do not substantially appear. As a result, the leakage current?102?in the case of "pmos: low" and "nmos: high" and the leakage current?103?in the case of "pmos: high" and "nmos: low" are compensated as shown in FIG.?10.
As in the invention, when the difference occurs between the threshold voltage of the PMOS transistor and the threshold voltage of the NMOS transistor, by controlling the well voltage so as to eliminate the threshold voltage difference, the variations in the leakage current can be compensated.?FIG. 11?shows a state where all of the leakage currents?111?to?115?are compensated to the leakage current?101?shown in the case of "pmos: standard" and "nmos: standard".
FIG. 12?is a block diagram showing a second embodiment of the control circuit?11?illustrated in FIG.?1. In the embodiment, the control circuit?11?is constructed by the delay monitor?21, comparator?22, PN Vt balance compensation circuit?123, shift register?24, well bias generator?25, and adder26.
As easily understood from comparison between?FIGS. 12 and 2, the control circuit?11?of second embodiment has the same configuration as that of the first embodiment except for the point that the N well voltage vbap is applied to the PN Vt balance compensation circuit?123. The basic operation is the same as that of the first embodiment.?FIG. 13?is a block diagram showing an example of the PN Vt balance compensation circuit?123?in FIG.12. The PN Vt balance compensation circuit?123?is constructed by a logical threshold voltage detector?131, the reference voltage generator?32, comparator?33, difference detector?34, and well bias generator?135?for PN Vt balance. As easily understood from comparison between?FIGS. 13 and 3, the configurations are the same except for the points that vbp as one of outputs of the well bias generator?135?for PN Vt balance is omitted and the N well voltage vbap is applied in place of the voltage vbp applied from the well bias generator?135?for PN Vt balance to the logical threshold detector?131. The basic operation is the same as that of the PN Vt balance compensation circuit?23?in the first embodiment.?FIG. 14?shows an example of the logical threshold voltage detector?131?in FIG.?13. Also in?FIG. 14, in a manner similar to the logical threshold voltage detector?31illustrated in?FIG. 4, the output terminal and the input terminal of a CMOS inverter constructed by the PMOS transistor?41?and the NMOS transistor42?are short-circuited, and the signal vlog is obtained at the node. The signal vlog becomes an output of the logical threshold voltage of the CMOS inverter. Although the well voltage of the PMOS transistor?41?is connected to the power supply voltage Vdd in?FIG. 4, in?FIG. 14, the well voltage of the PMOS transistor?41?is controlled by the N well voltage vbap and the well voltage of the NMOS transistor?42?is controlled by the signal voltage vbn applied from the well bias generator?135?for PN Vt balance, thereby controlling the logical threshold voltage of the CMOS inverter.

In the second embodiment, in a manner similar to the first embodiment, the delay of the CMOS LSI can be compensated and the threshold voltage difference between the PMOS transistor and the NMOS transistor can be eliminated. In addition, by feeding back the signal vbap to the PN Vt balance compensation circuit?23, even if the threshold voltage difference occurs between the PMOS transistor and the NMOS transistor at the time of changing the signals vbap and vban in order to compensate delay, the difference can be compensated.
Although the signal vbap is supplied to the PN Vt balance compensation circuit?123?in the second embodiment, the signal vban may be supplied to the PN Vt balance compensation circuit?123. In this case, it is sufficient to accordingly control each of the well voltages in FIG.?14.
FIG. 15?is a block diagram showing a third embodiment of the control circuit?11?illustrated in FIG.?1. In the embodiment, the control circuit?11?is constructed by the delay monitor?21, comparator?22, PN Vt balance compensation circuit?23, shift register?24, and a well bias generator?1525.
As easily understood from comparison between FIG.?15?and?FIGS. 2 and 12, the control circuit?11?of the third embodiment has the same configuration as that of the first or second embodiment except for the point that outputs of the shift register?24?and the PN Vt balance compensation circuit?23?are directly applied to the well bias generator?1525. The basic operation is the same as that of the first or second embodiment. In the third embodiment, in place of modifying the output of the well bias generator?25?according to the output of the shift register?24?by the adder?26?with an output of the PN Vt balance compensation circuit?23, an output of the well bias generator?1525?is obtained by a table lookup method.
FIG. 16?shows an example of a pattern table which can be employed in the embodiment. In?FIG. 16, diff denotes an output of the PN Vt balance compensation circuit?23, and adrp and adrn denote output signals of the shift register?24. The numerals from 0 to 9 indicated in adrp and adrn correspond to the numbers of output terminals of the decoders?251?and?252?shown in FIG.?6. In correspondence with the number, in a manner similar to?FIG. 6, a well bias voltage is output. adrp and adrn indicate a combination of numbers corresponding to voltages to be applied as well biases when the logical threshold voltage is equal to the design parameter. Specifically, in the example of?FIG. 16, when the output signal diff of the PN Vt balance compensation circuit?23?is 0, adrp and adrn are set so as to have the difference of only 1 in number. It means that, in the example ofFIG. 6, there is a difference of 0.1V between the logical threshold values of PMOS and NMOS transistors.
When the signal "up" is given from the shift register?24?in a state where diff is 0 and adrp and adrn are 5 and 4, respectively, adrp and adrn are incremented by one and 6 and 5 are output, respectively. On the contrary, when the signal "down" is given, adrp and adrn are decremented by one and 4 and 3 are output, respectively. As a result, while maintaining the same difference, the well potential is increased or decreased step by step in accordance with the signal "up" or "down".
When it is assumed that the output signal diff of the PN Vt balance compensation circuit?23?changes to 1 in a state where diff is 0 and adrp and adrn are 5 and 4, respectively, adrp and adrn change to 5 and 3, respectively. Specifically, by the change of only 1 in the signal diff, the signal adrn is changed only by 1 in the direction of increasing the difference. On the other hand, when diff changes to ?1, each of the signals adrp and adrn changes to 5. That is, by the change of only 1 in the signal diff, the signal adrn is changed in the direction of decreasing the difference only by one. As a result, the well potential acts so as to increase or decrease the difference in accordance with the signal diff. The values which are output as initial values of the table of the embodiment correspond to the logical threshold voltages of the PMOS and NMOS transistors.
FIG. 17?is a block diagram showing a fourth embodiment of the control circuit?11?illustrated in FIG.?1. In the embodiment, the control circuit?11?is constructed by a delay monitor?1721, comparator?22, PN Vt balance compensation circuit?23, shift register?24, well bias generator?25, and adder?26.
As easily understood from comparison between FIG.?17?and?FIG. 2, the control circuit?11?of the fourth embodiment has the same configuration as that of the first embodiment and the basic operation is the same as that of the first or second embodiment. However, the delay monitor?1721?of the fourth embodiment has therein a plurality of delay circuits. Even in the case where the critical path of the main circuit is replaced with another path due to a factor such as fluctuation in the power supply voltage, a well bias voltage corresponding to a change in the critical path can be generated.
FIG. 18?is a block diagram showing an example of the delay monitor?1721?in FIG.?17. In the example, as paths corresponding to the delay circuit illustrated in?FIG. 1, a path A?181, a path B?182, . . . , and a path N?18N are provided. To each of the paths, a clock signal is supplied. Each of the paths has a configuration corresponding to a circuit having a critical path to be represented in the main circuit?10. Outputs of the paths?181, . . . , and?18N are supplied to an AND gate?180. The AND gate?180?generates an output only after all of the paths?181, . . . , and?18N generate outputs, that is, after a path having the largest delay generates an output.
In a semiconductor integrated circuit device to which the present invention is directed, when circuit operation environments such as power supply voltage and temperature change, it is feared that the critical path of the main circuit in design is replaced with another path. To deal with such a situation, the delay monitor?1721?has to have at least two paths simulating paths each of which can be a critical path of the main circuit in accordance with the circuit operation environments as shown in FIG.?18?and select a path having the optimum delay corresponding to the change from the paths in the circuit operation environments, as a function of selecting a path having the largest delay amount. Although the AND gate?180?is shown as a circuit for selecting a path having the largest delay amount in?FIG. 18, the circuit is not limited to the AND gate?180?as long as a circuit realizes an equivalent function.
FIGS. 19A and 19B?show a state where the critical path of the main circuit is replaced with another path by taking an example of two paths. In?FIG. 19A,?191?and?192?denote delay time characteristics of paths A and B in the main circuit with respect to the power supply voltage. When an area in which the power supply voltage is lower than the point C is set as an area D and an area in which the power supply voltage is higher than the point C is set as an area E, in the area D, the path A?191?has longer delay time, so that the path A is the critical path in the main circuit. In the area E, the path B?192?has longer delay time, so that the path B is the critical path. For the main circuit having such a characteristic, when a well bias is controlled by constructing the delay monitor only by one path, for example, the path A, proper control can be performed only in the area D. In the area E, the critical path of the main circuit is not correctly simulated, so that the well bias is not properly controlled.

In the embodiment, as shown in?FIG. 19B, a path having longer delay time is automatically selected in correspondence with the power supply voltage at the time of circuit operation and the delay time is detected as an MONOUT signal. Consequently, even if the critical path of the main circuit is replaced with another path, delay for the critical path of the main circuit can be always monitored, and the circuit operation speed can be compensated to a design parameter.
The operation of the fourth embodiment is the same as that of the first embodiment except for the point of selecting the largest delay. Consequently, even when the critical path of the main circuit is replaced with another path due to a factor such as fluctuations in the power supply voltage, a more appropriate well voltage addressing the change in the critical path and subjected to PN Vt balance compensation can be applied.
FIG. 20?is a block diagram showing a fifth embodiment of the control circuit?11?described in FIG.?1. In the embodiment, the control circuit?11?is constructed by a delay monitor?2021, comparator?22, PN Vt balance compensation circuit?23, shift register?24, well bias generator?25, adder?26, and a power supply voltage generating circuit?2001.
As easily understood from comparison between?FIGS. 20 and 2, the fifth embodiment has the same configuration as the first embodiment except for the point that the power supply voltage generating circuit?2001?is added and a power supply voltage vdd of an LSI is controlled in accordance with adr representing an output adrp or adrn of the shift register?24, and the point that not only the well voltages vbap and vban output from the well bias generator?25?but also the output voltage vdd of the power supply voltage generating circuit?2001?are fed back to the delay monitor?2021. The basic operation is the same as that of the first embodiment.
In the fifth embodiment, initial values of the outputs adrp, adrn, and adr of the shift register?24?correspond to design parameters of an LSI of the main circuit. The well voltages vbap and vban and the power supply voltage vdd corresponding to the outputs also correspond to the design parameters. In the fifth embodiment, since the output voltage vdd of the power supply voltage generating circuit?2001?is also fed back to the delay monitor?2021simulating the critical path, without requiring any operation for a change in the power supply voltage, a delay signal having delay time corresponding to the change is obtained. Thus, an LSI having an optimum well bias voltage according to a change in the circuit operation environments such as the power supply voltage and temperature can be realized.
Obviously, in each of the fourth and fifth embodiments, in place of the adder, a table look-up method may be employed.
According to the invention, a CMOS LSI can be realized in which a well bias is supplied to each of a PMOS transistor and an NMOS transistor so as to compensate the operation speed to desired speed and to eliminate the threshold voltage difference between the PMOS and NMOS transistors.
SRC=http://www.freepatentsonline.com/6653890.html
PatentTips - Well bias control circuit,布布扣,bubuko.com
PatentTips - Well bias control circuit
原文:http://www.cnblogs.com/coryxie/p/3837183.html