任务1:实施团队项目软件用户调研活动。
(1)用户调研对象:我们的项目软件是基于安卓系统的音乐播放器,以设计出操作简单的音乐播放器为目的,所以本次用户调研的对象主要以身边的老人为主,对他们听音乐,听戏曲的情况进行了解,看他们对于音乐播放器有何需求,有何期待;并将我们设计出的项目模型对他们进行介绍,听取他们的意见和建议。另外考虑到为了获取更加全面的需求其他年龄阶段的人为辅助调研对象(例如:身边的同学、家长、朋友等)。
(2)调研方式:对于老人这个用户对象我们采取了面对面采访的方式进行调研,而对于其他年龄段的用户对象使用电子问卷调查的方式进行调研。
(3)用户需求调研活动电子问卷网址链接:https://www.wjx.cn/jq/23876821.aspx
小组成员面对面采访老人掠影:


任务2:采用UML模型描述任务获取的用户需求
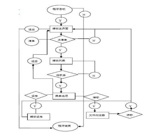
1.播放控制模块:此模块用于音乐的控制,主要有播放停止、上一首、下一首。

2.列表显示模块:此模块用于显示音乐列表,用户可以上下滑动列表进行浏览,点击某个列表元素进行制定音乐播放。

3.播放界面模块:此模块用于显示当前播放的音乐信息,包括专辑图、歌曲名称。

任务3:《音乐播放软件需求规格说明书》
github仓库地址链接:https://github.com/yhy618/A
1.1 编写目的
1.2 背景
随着手机的迅速普及,人们的生活更加离不开手机,原本人们听音乐的工具MP3等都逐渐退出了市场,因为现在的智能机替代了它们的所有功能,并且能够通过互联网实现在线听音乐和下载音乐,实现了它们原本没有实现的功能。我们开发的基于安卓系统的音乐播放软件就是利用智能手机实现播放音乐的功能,而我们主要针对的用户是老人,由于智能机的发展太过于迅速,而老人接受新事物的速度要稍微慢于年轻人,市场上现在流行的音乐软件虽然界面华丽、功能齐全;但是对于老人这个社会群体不是太实用,所以我们开发的这款软件操作简单,占用手机内存小,适合老人们使用。
1.3 定义
1) 问卷调查:通过网页电子问卷的形式从同学,朋友同区别于老人这个角度了解该软件的基本需求。
2) 用户访谈:通过与老人进行语言交流,进一步分析产品需求的过程。
3) 查阅文献:通过查阅文献进一步弥补软件需求的不足。
该项目旨在利用Java和Android技术去实现一个简单的音乐播放软件,检测出手机内存中的音乐文件,并实现播放、暂停、循环播放等一系列功能,在后期实现在线搜索音乐。
2.2 针对用户
1.对于现在操作复杂智能手机使用存在障碍的老人;
2.对于喜欢简易音乐播放软件感兴趣的其他年龄段用户;
3.需求规定
| 主要功能 | 功能描述 | 用户 |
| 播放功能 | 此模块用于音乐的控制,主要有播放停止、上一首、下一首。 |
老人及 其他用户 |
| 列表功能 | 显示音乐列表,用户可以上下滑动列表进行浏览,点击某个列表元素进行制定音乐播放。 | |
| 在线搜索 | 在线搜索喜欢的音乐,并播放出来。 |
作为Android平台上开发的应用软件,本设计具备与用户交互的界面。更重要的是播放器的基础功能和扩展功能。播放器主要由前台界面和后台数据库构成。前台界面主要实现和用户的交互,基本功能要实现歌曲的播放控制,还要显示曲目列表,能对曲目列表进行插入、删除、修改。扩展功能包括跳转到歌曲查找页面,方便用户搜索,要能显示歌曲搜索结果的歌曲及信息。后台数据库部分主要记录歌曲信息,能和前台程序进行交互。主要功能包括歌曲的存储,列表信息的存储,在线歌曲的存储。播放控制模块用于音乐的控制,主要有播放停止、上一首、下一首;列表显示模块:此模块用于显示音乐列表,用户可以上下滑动列表进行浏览,点击某个列表元素进行制定音乐播放。


技术实现路线:

装有Windows系统的计算机一台
装有Android系统的手机
Windows10 操作系统
android studio 2.0
java jdk
任务4:
本次任务团队分工及工作任务量:
|
团队成员 |
具体分工 |
工作量比例 |
|
马军 龚继恒 |
用户调研(两人个合作完成面对面采访老人和发放电子调查问卷,完成数据统计) |
22% |
|
龙正圆 |
设计问卷调查,并整理问卷调查分析材料。上传GitHub文档 。 |
18% |
|
纪亚星 |
UML图(用例图、类图)。 |
20% |
|
杨环宇 |
撰写团队作业博客,并协助候燕完成软件规格说明书。 |
20% |
|
候燕 |
完成软件规格说明书。 |
20% |
团队项目需求分析心得:
在一周的软件项目需求调查中我们小组分工明确,小组六个成员合作完成了此次需求调查分析,大家都很负责任的完成了自己的任务。需求调查过程中,我们通过面对面的采访用户对象和填写电子调查问卷,经过分析数据和整理调查内容,利用UML模型描述了用户需求,然后再请电子调研用户复查需求分析结果。经过一个比较详细的用户需求调研分析,我们对于我们软件开发的方向有了更加明确的方向,具体的用户调查为我们提供了更加具体的软件需求,上次我们设计的软件模型也暴露出了不足之处,给我们提供改进的方向,通过对问卷调查的分析,进行原型迭代,不断完善我们的原型设计。完成此次用户调查和撰写完软件规格说明书后我们小组成员都感觉到一个好的用户需求调查对于设计一个好的软件项目提供了很强的依据,指明了软件开发的方向。
A_Pancers团队作业4—基于原型的团队项目需求调研与分析
原文:https://www.cnblogs.com/A-Pancers/p/9046289.html