
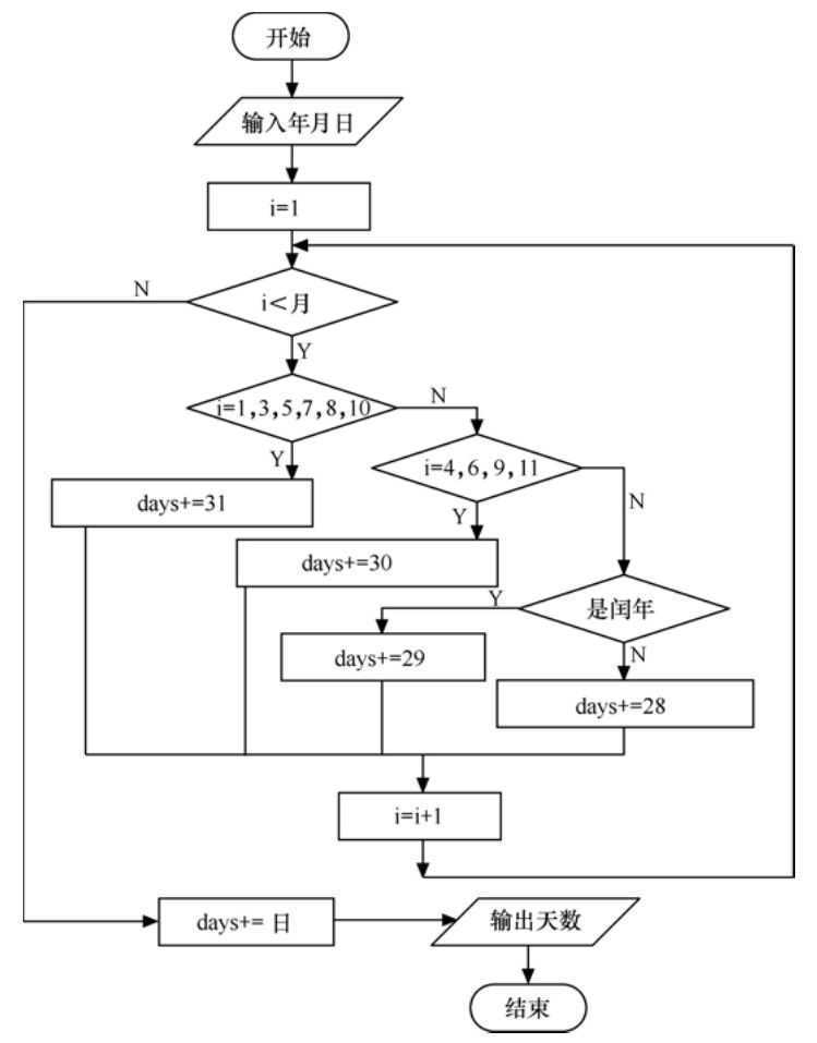
#include<stdio.h>
main()
{
struct date
{
int year;
int month;
int day;
}a;
int i,days=0;
printf("请输入年、月、日:");
scanf("%d%d%d",&a.year,&a.month,&a.day) ;
for(i=1;i<a.month;i++)
{
if(i==1||i==3||i==5||i==7||i==8||i==10)days+=31;
else if(i==4||i==6||i==9||i==11)days+=30;
else if(a.year%4==0&&a.year%100!=0||a.year%400==0)days+=29;
else days+=28;
}
days+=a.day;
printf("%d年%d月%d日是该年的第%d天",a.year,a.month,a.day,days);
}


#include<stdio.h>
#include<string.h>
struct person
{
char name[20];
int count;
}a[6]={"zhang",0,"li",0,"wang",0,"zhao",0,"liu",0,"zhu",0};
main()
{
int i=1,j=0;
char abc[20];
for(i=1;i<=10;i++)
{
printf("请输入候选人姓名:");
scanf("%s",&abc) ;
for(j=0;j<6;j++)
{
if(strcmp(abc,a[j].name)==0)
{
a[j].count++;
}
}
}
for(j=0;j<6;j++)
printf("%s:%d\n",a[j].name,a[j].count);
}


#include<stdio.h>
#include<stdlib.h>
struct
{
int number;
char name[30];
char job;
union
{
int classes;
char position[10];
}category;
}person[2];
main()
{
int i;
for(i=0;i<2;i++)
{
printf("请输入编号、姓名、职业:");
scanf("%d%s%s",&person[i].number,&person[i].name,&person[i].job);
if(person[i].job=='s')
{
printf("请输入班级:");
scanf("%d",&person[i].category.classes);
}
else if(person[i].job=='t')
{
printf("请输入职务:");
scanf("%s",&person[i].category.position);
}
else
{
printf("input error!");
abort();
}
}
printf("\n");
printf("编号\t\t姓名\t\t职业\t\t班级/职务\n");
for(i=0;i<2;i++)
{
if(person[i].job=='s')
{
printf("%d\t\t",person[i].number);
printf("%s\t\t",person[i].name);
printf("%c\t\t",person[i].job);
printf("%d\n",person[i].category.classes);
}
else
{
printf("%d\t\t",person[i].number);
printf("%s\t\t",person[i].name);
printf("%c\t\t",person[i].job);
printf("%s\n",person[i].category.position);
}
}
}



#include<stdio.h>
#define N 10
struct child
{
int no;
int next;
};
struct child link[N];
main()
{
int i,n,m,s,count,h;
printf("输入围圈人数,出圈报数,开始报数位置:");
scanf("%d%d%d",&n,&m,&s);
for(i=1;i<=n;i++)
{
if(i==n)
link[i].next=1;
else
link[i].next=i+1;
link[i].no=i;
}
count=0;
if(s==1)h=n;else h=s-1;
printf("出圈顺序为:");
while(count<n-1)
{
i=0;
while(i!=m)
{
h=link[h].next;
if(link[h].no)
i++;
}
printf("%d, ",link[h].no);
link[h].no=0;
count++;
}
for(i=1;i<=n;i++)
{
if(link[i].no!=0)
printf("%d",link[i].no);
}
}

原文:https://www.cnblogs.com/ganyiwubo/p/11109985.html