第九章 构造数据类型实验
姓名:方缙 实验地点:514教室 实验时间:4.30
实验项目:
9.3.1.试利用结构体类型描述年、月、日,输入一个日期,统计该日期是本年度第多少天。
9.3.2. 在选举中进行投票,包含候选人姓名、得票数,假设有多为候选人,用结构体数组统计各候选人的得票数。
9.3.3. 若将教师和学生的数据放在同一表格中。教师的数据包括编号、姓名、职业和职务,学生的数据包括编号、姓名、职业和班级。试编写程序填写表格。
9.3.4.n个人围成一圈,从第s个人开始按顺时针1,2,3,···,m的顺序报数,数到m的人出圈,然后从出圈的下一个人开始重复此过程,输入所有出圈人的顺序。
二、实验内容
1、结构体变量的应用
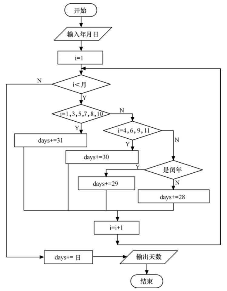
问题的简单描述:试利用结构体类型描述年、月、日,输入一个日期,统计日期是本年度第多少天。算法描述如图:

实验代码:
1 #include<stdio.h>
2 main()
3 { struct date
4 {
5 int year;
6 int month;
7 int day;
8 };
9 struct date a;
10 int i;
11 int days;
12 printf("请输入年、月、日:");
13 scanf("%d%d%d",&a.year,&a.month,&a.day);
14 for(i=1;i<a.month;i++)
15 {
16 if(i==1||i==3||i==5||i==7||i==8||i==10)
17 days+=31;
18 else if(i==4||i==6||i==9||i==11)
19 days+=30;
20 else if((a.year%4==0&&a.year%100!=0)||a.year==400)
21 days+=29;
22 else days+=28;
23 }
24 days+=a.day;
25 printf("%d年%d月%d日是该年的第%d天",a.year,a.month,a.day,days-1);
26 }
运行结果:

问题分析:这个实验没有话太多的时间,还是比较简单的相对其他的来说。
2、结构体数组的应用
问题的简单描述:在选举中,假设有6位候选人,有10个人参加投票(只能对一位候选人投票),用结构体数组统计各候选人的得票数。算法描述如图:

实验代码:
1 #include<stdio.h>
2 #include<string.h>
3 struct person
4 {
5 char name[20];
6 int count;
7 }a[6]={"zhang",0,"li",0,"wang",0,"zhao",0,"liu",0,"zhu",0};
8 main()
9 {
10 int i,j;
11 char abc[20];
12 for(i=1;i<=10;i++)
13 {
14 printf("请输入候选人的名字:");
15 scanf("%s",abc);
16 for(j=0;j<6;j++)
17 {
18 if(strcmp(a[j].name,abc)==0) a[j].count++;
19 }
20 }
21 for(j=0;j<6;j++)
22 {
23 printf("%s:%d\n",a[j].name,a[j].count);
24 }
25 }
运行结果:

问题分析:在比较字符串时应该应用(strcmp(a[j].name,abc)形式才能正常编译,不然会报错。
3、共用体的应用
问题的简单描述:编写程序填写表格。从键盘输入学生和教师的信息,若是学生,则班级/职务栏填入班级;若是教师,则班级/职务栏填入职称。算法描述如图:

实验代码:
1 #include<stdio.h>
2 #include<stdlib.h>
3 struct
4 {
5 int number;
6 char name[20];
7 char job;
8 union
9 {
10 int classes;
11 char position[10];
12 }categoty;
13 }person[2];
14 main()
15 {
16 int i;
17 for(i=0;i<2;i++)
18 {
19 printf("请输入姓名、编号、职业:");
20 scanf("%s%d%s",&person[i].name,&person[i].number,&person[i].job);
21 if(person[i].job==‘s‘)
22 {
23 printf("请输入班级:");
24 scanf("%d",&person[i].categoty.classes);
25 }
26 else if(person[i].job==‘t‘)
27 {
28 printf("请输入教师职称:");
29 scanf("%s",&person[i].categoty.position);
30 }
31 else
32 {
33 printf("Input error!");
34 abort();
35 }
36 }
37 printf("\n");
38 printf("编号\t姓名\t职业\t班级/职务\n");
39 for(i=0;i<2;i++)
40 {
41 if(person[i].job==‘s‘)
42 printf("%d\t%s\t%c\t%d\n",person[i].number,person[i].name,person[i].job,person[i].categoty.classes);
43 else
44 printf("%d\t%s\t%c\t%s\n",person[i].number,person[i].name,person[i].job,person[i].categoty.position);
45 }
46 }
运行结果:

问题分析:这个程序按照步骤完成时,程序不会报错,但是运行的时候,就会直接崩溃,找了好久原因才找到,在定义name时要用数组来定义,否者只有一个字节的内存,就会出错,导致结果出不来。
4、结构体指针的应用
问题的简单描述:n个人围成一圈,从第s个人开始按顺时钟1,2,3.....,m的顺序报数,数到m的人出圈,然后从出圈的下一个人开始重复此过程,输入所有出圈人的顺序。n,s,m从键盘输入。算法描述如下:

实验代码:
1 #include<stdio.h>
2 #define N 10
3 struct child
4 {
5 int no;
6 int next;
7 };
8 struct child link[N];
9 main()
10 {
11 int i,n,m,s,count,h;
12 printf("输入围圈人数,出圈报数,开始报数位置:");
13 scanf("%d%d%d",&n,&m,&s);
14 for(i=1;i<=n;i++)
15 {
16 if(i==n)
17 link[i].next=1;
18 else
19 link[i].next=i+1;
20 link[i].no=i;
21 }
22 count=0;
23 if(s==1)
24 h=n;
25 else
26 {
27 h=s-1;
28 }
29 printf("出圈顺序为:");
30 while(count<n-1)
31 {
32 i=0;
33 while(i!=m)
34 {
35 h=link[h].next;
36 if(link[h].no)
37 i++;
38 }
39 printf("%d, ",link[h].no);
40 link[h].no=0;
41 count++;
42 }
43 for(i=1;i<=n;i++)
44 {
45 if(link[i].no!=0)
46 printf("%d",link[i].no);
47 }
48 }
运行结果:

问题分析:刚开始一直结果一直显示全是1,最后改为link[i].no结果才正确。
三、实验小结
1、c语言的难度慢慢加大了,还好的是已经到了这门课程的结尾,认真学好最后的部分,基本的问题就可以解决了。
2、到了后面书上的实验提示代码出错的越来越多,不知道是不是在考验我们,认真思索每一步的代码,不要轻信书上的。
原文:https://www.cnblogs.com/fj001024/p/11110678.html