top命令用法
top命令经常用来监控linux的系统状况,是常用的性能分析工具,能够实时显示系统中各个进程的资源占用情况。
top的使用方式 top [-d number] | top [-bnp]
参数解释:
-d:number代表秒数,表示top命令显示的页面更新一次的间隔。默认是5秒。
-b:以批次的方式执行top。
-n:与-b配合使用,表示需要进行几次top命令的输出结果。
-p:指定特定的pid进程号进行观察。
在top命令显示的页面还可以输入以下按键执行相应的功能(注意大小写区分的):
?:显示在top当中可以输入的命令
P:以CPU的使用资源排序显示
M:以内存的使用资源排序显示
N:以pid排序显示
T:由进程使用的时间累计排序显示
k:给某一个pid一个信号。可以用来杀死进程
r:给某个pid重新定制一个nice值(即优先级)
q:退出top(用ctrl+c也可以退出top)。
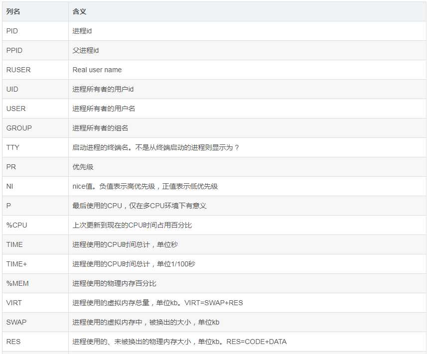
top各输出参数含义
下面是使用top命令来进行性能检测的截图:
图一(ubuntu):
图二(centos):

第1行:top - 05:43:27 up 4:52, 2 users, load average: 0.58, 0.41, 0.30
第1行是任务队列信息,其参数如下:

load average: 如果这个数除以逻辑CPU的数量,结果高于5的时候就表明系统在超负荷运转了。
第2行:Tasks: 159 total, 1 running, 158 sleeping, 0 stopped, 0 zombie
第3行:%Cpu(s): 37.0 us, 3.7 sy, 0.0 ni, 59.3 id, 0.0 wa, 0.0 hi, 0.0 si, 0.0 st
第2、3行为进程和CPU的信息
当有多个CPU时,这些内容可能会超过两行,其参数如下:
第4行:KiB Mem: 1530752 total, 1481968 used, 48784 free, 70988 buffers
第5行:KiB Swap: 3905532 total, 267544 used, 3637988 free. 617312 cached Mem
第4、5行为内存信息
其参数如下:
上述最后提到的缓冲的交换区总量,这里解释一下,所谓缓冲的交换区总量,即内存中的内容被换出到交换区,而后又被换入到内存,但使用过的交换区尚未被覆盖,该数值即为这些内容已存在于内存中的交换区的大小。相应的内存再次被换出时可不必再对交换区写入。
计算可用内存数有一个近似的公式:
第四行的free + 第四行的buffers + 第五行的cached
二、进程信息

默认进入top时,各进程是按照CPU的占用量来排序的。
1、在top基本视图中,按键盘数字“1”可以监控每个逻辑CPU的状况:

2、敲击键盘‘b’(打开关闭加亮效果)top视图变换如下:

PID为16283为当前top视图中唯一的运行态进程。也可以敲击键盘‘y’来打开或者关闭运行态进程的加亮效果。
3、敲击键盘‘x’(打开/关闭排序列的加亮效果),top视图变换如下:

可以看到现在是按"%CPU"进行排序的,可以按”shift+>”或者”shift+<”左右改变排序序列。
4、改变进程显示字段
在top基本视图中,敲击”f”进入另一个视图,在这里可以编辑基本视图中的显示字段:

用上下键选择选项,按下空格键可以决定是否在基本视图中显示这个选项。
top命令是一个非常强大的功能,但是它监控的最小单位是进程,如果想监控更小单位时,就需要用到ps或者netstate命令来满足我们的要求。
参考文献
1、https://blog.csdn.net/quiet_girl/article/details/50668126
2、http://www.zhimengzhe.com/linux/298422.html
原文:https://www.cnblogs.com/QaStudy/p/11514869.html