女朋友说:“看你最近挺辛苦的,我送你一个礼物吧。你看看想要什么,我来准备。”
我想了半天,从书到鞋子到电子产品最后到生活用品,感觉自己什么都不缺,然后和她说:“你省省钱吧,我什么都不需要。”
她坚持要送:“不行,你一定要说一个礼物,我想送你东西了。”
于是,我认真了起来,拿起手机,上淘宝逛了几分钟,但还是没能想出来缺点什么,最后实在没办法了:“这样吧,如果你实在想送东西,那你就写一个代理服务器吧”
她什么也没说,哈哈大笑了起来,然后写了这篇博客。
允许一个网络终端(一般为客户端)通过这个服务与另一个网络终端(一般为服务器)进行非直接的连接。如图所示,为普通 Web 应用通信方式与采用代理服务器的通信方式的对比。

代理服务器在指定端口(例如 8080) 监听浏览器的访问请求(需要在客户端浏览器进行相应的设置), 接收到浏览器对远程网站的浏览请求时,代理服务器开始在代理服务器的缓存中检索 URL 对应的对象(网页、图像等对象),找到对象文件后, 提取该对象文件的最新被修改时间; 代理服务器程序在客户的请求报文首部插入<If-Modified-Since: 对象文件的最新被修改时间>,并向原 Web 服务器转发修改后的请求报文。 如果代理服务器没有该对象的缓存,则会直接向原服务器转发请求报文, 并将原服务器返回的响应直接转发给客户端,同时将对象缓存到代理服务器中。 代理服务器程序会根据缓存的时间、大小和提取记录等对缓存进行清理。本实验需实现一个简单的 HTTP 代理服务器, 可以分为两个步骤:(首先请设置浏览器开启本地代理,注意设置代理端口与代理服务器监听端口保持一致)。
a) 网站过滤:允许/不允许访问某些网站;
b) 用户过滤:支持/不支持某些用户访问外部网站;
c) 网站引导:将用户对某个网站的访问引导至一个模拟网站(钓鱼)。
以IE浏览器设置为例:打开浏览器工具浏览器选项——连接——局域网设置——代理服务器。设置地址为127.0.0.1,端口号为10240。

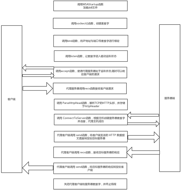
HTTP代理服务器用于一个网络终端(一般为客户端)通过代理服务与另一个网络终端(一般为服务器)进行非直接的连接。设计的流程图如下:

(1) InitSocket()函数
功能:初始化套接字
(2) ProxyThread()函数
功能:线程执行函数
(3) ParseHttpHead()函数
功能:解析 TCP 报文中的 HTTP 头部
(4) ConnectToServer()函数
功能:根据主机创建目标服务器套接字,并连接
首先设置不允许访问网站的url

在处理客户端请求时,检查请求消息中的url是否被允许访问,如果不允许访问,则拒绝

将代理服务器的网络通信IP地址从INADDR_ANY更改为特定的某个IP地址,从而只有该IP地址能通过
代理服务器访问外部网站,其他IP均不能

首先设置目标网站和相应的钓鱼网站和主机名

在处理客户端请求时,将请求消息中的url和host替换成事先设置好的模拟网站的url和host

原文:https://www.cnblogs.com/chenxiangchun/p/12484428.html