通俗易懂理解RNN
RNN是接触最早的模型算法之一,但是对其理解一直不是很透彻,今天,看到一篇大佬写的博客,非常通俗易懂,看完以后醍醐灌顶。再重新梳理整理写进博客,供以后参考。
1、Recurrent Neural Networks
循环神经网络(Recurrent Neural Network, RNN)是一类以序列(sequence)数据为输入,在序列的演进方向进行递归(recursion)且所有节点(循环单元)按链式连接的递归神经网络 (recursive neural network)。深度学习(deep learning)算法之一 ,其中双向循环神经网络(Bidirectional RNN, Bi-RNN)和长短期记忆网络(Long Short-Term Memory networks,LSTM)是常见的循环神经网络。
通俗来说,以往的神经网络都只能单独的取处理一个个的输入,前一个输入和后一个输入是完全没有关系的。但是,某些任务需要能够更好的处理序列的信息,即前面的输入和后面的输入是有关系的。比如,当我们在理解一句话意思时,孤立的理解这句话的每个词是不够的,我们需要处理这些词连接起来的整个序列; 当我们处理视频的时候,我们也不能只单独的去分析每一帧,而要分析这些帧连接起来的整个序列。RNN 是包含循环的网络,允许信息的持久化。

在上面的示例图中,神经网络的模块,A正在读取某个输入 x_i,并输出一个值 h_i。循环可以使得信息可以从当前步传递到下一步。这些循环使得 RNN 看起来非常神秘。然而,如果你仔细想想,这样也不比一个正常的神经网络难于理解。RNN 可以被看做是同一神经网络的多次复制,每个神经网络模块会把消息传递给下一个。所以,如果我们将这个循环展开:

2、长期依赖(Long-Term Dependencies)
RNN 的关键点之一就是他们可以用来连接先前的信息到当前的任务上,例如使用过去的视频段来推测对当前段的理解。如果 RNN 可以做到这个,他们就变得非常有用。但是真的可以么?答案是,还有很多依赖因素。 有时候,我们仅仅需要知道先前的信息来执行当前的任务。例如,我们有一个语言模型用来基于先前的词来预测下一个词。如果我们试着预测 “the clouds are in the sky” 最后的词,我们并不需要任何其他的上下文 —— 因此下一个词很显然就应该是 sky。在这样的场景中,相关的信息和预测的词位置之间的间隔是非常小的,RNN 可以学会使用先前的信息。

不太长的相关信息和位置间隔,但是同样会有一些更加复杂的场景。假设我们试着去预测“I grew up in France... I speak fluent French”最后的词。当前的信息建议下一个词可能是一种语言的名字,但是如果我们需要弄清楚是什么语言,我们是需要先前提到的离当前位置很远的 France 的上下文的。这说明相关信息和当前预测位置之间的间隔就肯定变得相当的大。 不幸的是,在这个间隔不断增大时,RNN 会丧失学习到连接如此远的信息的能力。

在理论上,RNN 绝对可以处理这样的 长期依赖 问题。人们可以仔细挑选参数来解决这类问题中的最初级形式,但在实践中,RNN 肯定不能够成功学习到这些知识。
3、LSTM
Long Short Term 网络—— 一般就叫做 LSTM ——是一种 RNN 特殊的类型,可以学习长期依赖信息。LSTM 通过刻意的设计来避免长期依赖问题。记住长期的信息在实践中是 LSTM 的默认行为,而非需要付出很大代价才能获得的能力! 所有 RNN 都具有一种重复神经网络模块的链式的形式。在标准的 RNN 中,这个重复的模块只有一个非常简单的结构,例如一个 tanh 层。
标准 RNN 中的重复模块包含单一的层:

LSTM 同样是这样的结构,但是重复的模块拥有一个不同的结构。不同于 单一神经网络层,这里是有四个,以一种非常特殊的方式进行交互。
LSTM 中的重复模块包含四个交互的层:

LSTM 的核心思想
LSTM 的关键就是细胞状态,水平线在图上方贯穿运行。 细胞状态类似于传送带。直接在整个链上运行,只有一些少量的线性交互。信息在上面流传保持不变会很容易。

LSTM 有通过精心设计的称作为“门”的结构来去除或者增加信息到细胞状态的能力。门是一种让信息选择式通过的方法。他们包含一个 sigmoid 神经网络层和一个 pointwise 乘法操作。

Sigmoid 层输出 0 到 1 之间的数值,描述每个部分有多少量可以通过。0 代表“不许任何量通过”,1 就指“允许任意量通过”!
LSTM 拥有三个门,来保护和控制细胞状态。
(1)决定丢弃信息

在我们 LSTM 中的第一步是决定我们会从细胞状态中丢弃什么信息。这个决定通过一个称为忘记门层完成。该门会读取h_{t-1}和x_t,输出一个在 0 到 1 之间的数值给每个在细胞状态C_{t-1}中的数字。1 表示“完全保留”,0 表示“完全舍弃”。 让我们回到语言模型的例子中来基于已经看到的预测下一个词。在这个问题中,细胞状态可能包含当前主语的性别,因此正确的代词可以被选择出来。当我们看到新的主语,我们希望忘记旧的主语。
(2)确定更新的信息

下一步是确定什么样的新信息被存放在细胞状态中。这里包含两个部分。第一,sigmoid 层称 “输入门层” 决定什么值我们将要更新。然后,一个 tanh 层创建一个新的候选值向量,\tilde{C}_t,会被加入到状态中。下一步,我们会讲这两个信息来产生对状态的更新。 在我们语言模型的例子中,我们希望增加新的主语的性别到细胞状态中,来替代旧的需要忘记的主语。
(3)更新细胞状态

现在是更新旧细胞状态的时间了,C_{t-1}更新为C_t。前面的步骤已经决定了将会做什么,我们现在就是实际去完成。 我们把旧状态与f_t相乘,丢弃掉我们确定需要丢弃的信息。接着加上i_t * \tilde{C}_t。这就是新的候选值,根据我们决定更新每个状态的程度进行变化。 在语言模型的例子中,这就是我们实际根据前面确定的目标,丢弃旧代词的性别信息并添加新的信息的地方。
(4)输出信息

最终,我们需要确定输出什么值。这个输出将会基于我们的细胞状态,但是也是一个过滤后的版本。首先,我们运行一个 sigmoid 层来确定细胞状态的哪个部分将输出出去。接着,我们把细胞状态通过 tanh 进行处理(得到一个在 -1 到 1 之间的值)并将它和 sigmoid 门的输出相乘,最终我们仅仅会输出我们确定输出的那部分。 在语言模型的例子中,因为他就看到了一个 代词,可能需要输出与一个 动词 相关的信息。例如,可能输出是否代词是单数还是负数,这样如果是动词的话,我们也知道动词需要进行的词形变化。
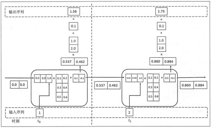
以下是RNN前向传播过程,仔细看数据之间的一个传播过程可以很好地理解循环神经网络的运行过程:

如上图所示,假设节点状态的维度为2,节点的输入和输出维度为1,那么在循环体的全连接层神经网络的输入维度为3,也就是将上一时刻的状态与当前时刻的输入拼接成一维向量作为循环体的全连接层神经网络的输入,在这里t0时刻的节点状态初始化为[0.0, 0.0],t0时刻的节点输入为[1.0],拼接之后循环体的全连接层神经网络的输入为[0.0, 0.0, 1.0],循环体中的全连接层的权重表示为二维矩阵[[0.1, 0.2], [0.3, 0.4], [0.5, 0.6]],偏置项为[0.1, -0.1],我们可以看到权重矩阵和偏置项在t0和t1时刻的循环体中是一样的,这也说明了RNN结构中的参数在不同时刻中也是共享的。经过循环体中的全连接层神经网络后节点的状态改变为tanh([0.6, 0.5]) = [0.537, 0.462],当前节点状态的输出作为下一个节点状态的输入。
为了将当前时刻的状态转变为节点的最终输出,RNN中还有另外一个全连接神经网络来计算节点输出,在图2中被表示为[0.537, 0.462] * [1.0, 2.0] + [0.1] = [1.56],用于输出的全连接层权重为[1.0, 2.0],偏置项为[0.1],1.56表示为t0时刻节点的最终输出。
得到RNN的前向传播结果之后,和其他神经网络类似,定义损失函数,使用反向传播算法和梯度下降算法训练模型,但RNN唯一的区别在于:由于它每个时刻的节点都有一个输出,所以RNN的总损失为所有时刻(或部分时刻)上的损失和。
双向循环神经网络(BRNN)
RNN和LSTM都只能依据之前时刻的时序信息来预测下一时刻的输出,但在有些问题中,当前时刻的输出不仅和之前的状态有关,还可能和未来的状态有关系。比如预测一句话中缺失的单词不仅需要根据前文来判断,还需要考虑它后面的内容,真正做到基于上下文判断。BRNN有两个RNN上下叠加在一起组成的,输出由这两个RNN的状态共同决定。对于每个时刻t,输入会同时提供给两个方向相反的RNN,输出由这两个单向RNN共同决定。

可理解为:Bi-LSTM以及Bi-RNN,可以看成是两层神经网络,第一层从左边作为系列的起始输入,在文本处理上可以理解成从句子的开头开始输入,而第二层则是从右边作为系列的起始输入,在文本处理上可以理解成从句子的最后一个词语作为输入,反向做与第一层一样的处理处理。最后对得到的两个结果进行处理。
比如,我们对“我爱中国”这句话进行编码,模型如下图所示。

前向的L S T M L LSTM_LLSTML?依次输入“我”,“爱”,“中国”得到三个向量{ h L 0 , h L 1 , h L 2 } \{h_{L0},h_{L1},h_{L2}\}{hL0?,hL1?,hL2?}。后向的L S T M R LSTM_RLSTMR?依次输入“中国”,“爱”,“我”得到三个向量{ h R 0 , h R 1 , h R 2 } \{h_{R0},h_{R1},h_{R2}\}{hR0?,hR1?,hR2?}。最后将前向和后向的隐向量进行拼接得到{ [ h L 0 , h R 2 ] , [ h L 1 , h R 1 ] , [ h L 2 , h R 0 ] } \{[h_{L0},h_{R2}],[h_{L1},h_{R1}],[h_{L2},h_{R0}]\}{[hL0?,hR2?],[hL1?,hR1?],