|
背景信息 |
|
本案例场景为给XX项目Login服务器以及Game服务器增加 DDOS防护,使用Cloudflare。 环境架构由 Client → Login/Game服务器 (客户端的流量直接连接Login/Game服务器) 升级为 Client → CloudFlare → Login/Game服务器 (客户端流量发送给CloudFlare,在由CloudFlare反向代理至Login/Game服务器)
注意:图中敏感信息已打码;另所有域名信息使用www.baidu.com代替,IP端口为虚假信息。
|
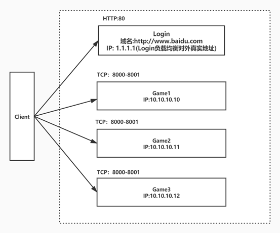
XX项目版Login服务器不增加DDOS防护时,玩家直接通过DNS服务器解析到Login服务器的真实IP地址连接Login服务器的80端口,并获取区服列表
具体流程见下图;

在加入DDOS防护后,DNS域名会将映射解析到 Cloudflare的边缘防护IP上,然后Cloud Flare会将请求反向代理到Login的真实IP上.

XX项目版Game服务器不增加DDOS防护时,由于Game没有域名配置,玩家直接通过Login服务器获取Game的IP地址,然后连接Game服的8000-8001端口,连接Game服务器;由于XX项目 Game服为滚服架构,那么每个Game区服都会开放8000-8001端口.
具体流程见下图.

加入DDOS防护后,由于DDOS边缘防护IP数量有限(根据沟通,CloudFlare边缘IP上限为10个),并且,一个边缘IP只能开放一个相同端口;所以,边缘IP以及Game服的对外IP依次递增对外端口来满足配置需求.

XX项目环境信息如下
|
角色 |
域名 |
边缘IP |
服务器对外真实IP |
服务器对外端口 |
|
Login服务器 |
www.baidu.com |
2.2.2.2 |
1.1.1.1 |
80 |
|
Game1 |
无 |
2.2.2.2 |
10.10.10.10 |
8000,8001 |
|
Game2 |
无 |
2.2.2.2 |
10.10.10.11 |
8002,8003 |
由于login服务器和game服务器端口不冲突,所以这里只用一个边缘ip:2.2.2.2。所有对外端口依次递增。
在XX项目环境中,需要配置的模块有3个,分别为以下:
CloudFlare
配置至真实游戏服(登录服)的反向代理目的地址,并获取CloudFlare的边缘IP。
DNS
由于DNS在没有DDOS防护前,直接将映射解析至Login的服务上,在加入DDOS防护后,需要将解析更改至CloudFlare的边缘IP上。
游戏服(登录服)
为了节约成本以及IP资源的节省,对外端口由8000-8001递增的方式添加。
1.登录CloudFlare
网址: https://dash.cloudflare.com/login

2.点击项目的域名
XX项目使用的是baidu.com

3.DNS以及Spectrum
(由于配置多余的域名可能会导致额外费用,这里只展示配置过程截图)
主要是在以下2个配置项(根据实际需求选择)里面配置反向代理的服务器IP,并获取CloudFlare边缘IP

DNS:DNS配置项可以配置标准端口,如80和443,一般是7层协议。
Spectrum:Spectrum配置项可以随意配置有效范围端口,比如不是标准的80和443却也是http协议。可以配置协议比较多。
如端口为80及443,配置见以下

配置完成后点击保存.
如果后端真实服务器对外端口为非80和443,那么就需要使用Spectrum配置项.
点击Spectrum→点击创建应用程序

配置Spectrum(这里假设配置2个游戏服,端口号8000-8003)
Game1(端口8000-8001)

Game1第二个端口

Game2(端口8002-8003)

Game2第二个端口

注意:不管是DNS配置项还是Spectrum配置项,域名地址配置部分,一定最好保持一致,只有域名地址相同,分配的边缘IP地址才会相同。(Cloudflare还是要按照实际情况决定)
4.页面规则
如果是配置DDoS防护,可以不用配置默认规则,但是这里还是显示的配置一下更为清晰。


5.获取CloudFlare的边缘IP地址
获取CloudFlare的边缘IP地址,通过dig命令加上CloudFlare的CNAME别名来获取。
比如XX项目只有一个主机名,那么直接 dig www.baidu.com.cdn.cloudflare.net

注意:配置2个主机名或者1个主机名,按照实际条件选择,cloudflare按照边缘IP收费。
只有有域名配置的服务器才需要配置DNS,比如Login服务器(这里XX项目login服务器功能是获取区服列表,所以配置了域名)。
目前环境配置海外项目使用AWS route53服务来配置域名
1.登录AWS,找到ROUTE 53服务→托管区域→找到baidu.com域名

2.将原主机域名A记录改为CNAME记录,指向CloudFlare的CNAME域名

内部项目信息,敏感信息这里不做公开。只需要将原来的外网地址改成cloudflare的边缘IP地址和刚才配置的端口即可。
原文:https://www.cnblogs.com/lizexiong/p/14850933.html