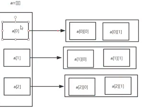
1.多维数组可以看成是数组的数组,比如二维数组就是一个特殊的一维数组,其中的每一个元素都是一个一维数组
2.二维数组
int a[][] = new int [2][4];
以上数组可以看成是一个两行五列的数组

例
public static void main(String[] args) {
int[][] array = {{1,2,3},{1,4},{5,6},{7,8,9},{10}};
for (int i = 0; i <array.length ; i++) {
for (int j = 0; j < array[i].length; j++) {
System.out.println(array[i][j]);
}
}
}原文:https://www.cnblogs.com/xieboxuejava/p/14887694.html