首页 > 其他 > 详细

Optimizing TLB entries for mixed page size storage in contiguous memory

时间:2014-10-24 15:50:43      阅读:501      评论:0      收藏:0      [点我收藏+]

A system and method for accessing memory are provided. The system comprises a lookup buffer for storing one or more page table entries, wherein each of the one or more page table entries comprises at least a virtual page number and a physical page number; a logic circuit for receiving a virtual address from said processor, said logic circuit for matching the virtual address to the virtual page number in one of the page table entries to select the physical page number in the same page table entry, said page table entry having one or more bits set to exclude a memory range from a page.

BACKGROUND

The present invention relates generally to computer devices and memory management systems thereof that employ a translation look-aside buffer (TLB), and particularly to a system and method for optimizing page entries in a TLB.

Organizing memory into pages is useful in that it allows the computer system to address memory by virtual addresses, with components such as the TLB able to map the virtual addresses to physical addresses stored in memory. This allows the computer system to address more memory than is physically available.

One limiting property of page entries in a TLB is that, for a given page size, the page start address must be aligned to the page size. This is problematic when using a mix of small and large page sizes because it requires that either the large pages are adjacent to one another, or that the "gaps" between large pages are filled in with numerous smaller pages. This, in turn, requires using more TLB page entries to define a large, contiguous range of memory that is subject to translation. For example, if only 64KB page entries are available, then 16 individual 64KB page entries are required to form a contiguous 1MB page entry.

Thus, there is a need in the art for a system and method for optimizing page entries in a TLB. The system and method allows a mix of page sizes to exist together in one contiguous area of memory while reducing the number of page entries in the TLB.

BRIEF DESCRIPTION OF FIGURES

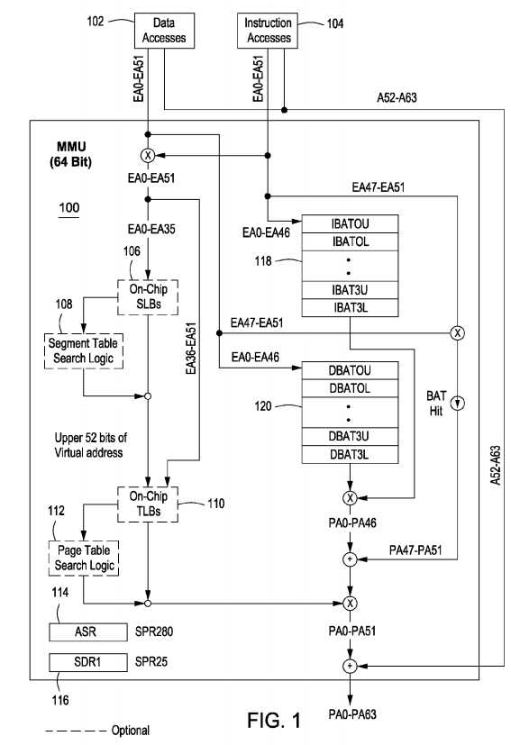
FIG. 1 is an overview of a memory management unit (MMU) utilized by the BlueGene parallel computing system;

FIG. 2 is a flow diagram of address translation in the IBM BlueGene parallel computing system;

FIG. 3 is a page table search logic device;

FIG. 4 is a table of page sizes and their corresponding EPN and exclusion range bits available in the BlueGene parallel computing system;

FIG. 5 is an example of prior art TLB page entries;

FIG. 6 is an example of optimized TLB page entries;

FIG. 7 is an overall architecture of a parallel computing environment that can benefit from the present invention; and

FIG. 8 is an overview of the A2 processor core organization.

SUMMARY

In one embodiment, a system for accessing memory. The system comprises a lookup buffer for storing one or more page table entries, wherein each of the one or more page table entries comprises at least a virtual page number and a physical page number; a logic circuit for receiving a virtual address from said processor, said logic circuit for matching the virtual address to the virtual page number in one of the page table entries to select the physical page number in the same page table entry, said page table entry having one or more bits set to exclude a memory range from a page.

In another embodiment, a method for accessing memory comprising receiving at a logic device a virtual address; and matching the virtual address to a virtual page number in one of one or more page table entries stored in a lookup table to select a physical page and translate the virtual address to a physical address, said page table entry having one or more bits set to exclude a memory range in a page.

Description

FIG. 1 is an overview of a memory management unit?100?(MMU) utilized by in a multiprocessor system, such as IBM‘s BlueGene parallel computing system. Further details about the MMU?100?are provided in IBM‘s "PowerPC RISC Microprocessor Family Programming Environments Manual v2.0 " (hereinafter "PEM v2.0") published Jun. 10, 2003 which is incorporated by reference in its entirety. The MMU?100?receives data access requests from the processor (not shown) through data accesses?102?and receives instruction access requests from the processor (not shown) through instruction accesses?104. The MMU?100?maps effective memory addresses to physical memory addresses to facilitate retrieval of the data from the physical memory. The physical memory may include cache memory, such as L1 cache, L2 cache, or L3 cache if available, as well as external main memory, e.g., DDR3 SDRAM.

bubuko.com,布布扣

The MMU?100?comprises an SLB?106, an SLB search logic device?108, a TLB?110, a TLB search logic device?112, an Address Space Register (ASR)114, an SDR1?116, a block address translation (BAT) array?118, and a data block address translation (DBAT) array?120. The SDR1?116?specifies the page table base address for virtual-to-physical address translation. Block address translation and data block address translation are one possible implementation for translating an effective address to a physical address and are discussed in further detail in PEM v2.0 and U.S. Pat. No. 5,907,866.

Another implementation for translating an effective address into a physical address is through the use of an on-chip SLB, such as SLB?106, and an on-chip TLB, such as TLB?110. Prior art SLBs and TLBs are discussed in U.S. Pat. No. 6,901,540 and U.S. Publication No. 20090019252, both of which are incorporated by reference in their entirety. In one embodiment, the SLB?106?is coupled to the SLB search logic device?108?and the TLB?110?is coupled to the TLB search logic device?112. In one embodiment, the SLB?106?and the SLB search logic device?108?function to translate an effective address (EA) into a virtual address. The function of the SLB is further discussed in U.S. Publication No. 20090019252. In the PowerPC? reference architecture, a 64 bit effective address is translated into an 80 bit virtual address. In the A2 implementation, a 64 bit effective address is translated into an 88 bit virtual address.

In one embodiment of the A2 architecture, both the instruction cache and the data cache maintain separate "shadow" TLBs called ERATs (effective to real address translation tables). The ERATs contain only direct (IND=0) type entries. The instruction I-ERAT contains 16 entries, while the data D-ERAT contains 32 entries. These ERAT arrays minimize TLB?110?contention between instruction fetch and data load/store operations. The instruction fetch and data access mechanisms only access the main unified TLB?110?when a miss occurs in the respective ERAT. Hardware manages the replacement and invalidation of both the I-ERAT and D-ERAT; no system software action is required in MMU mode. In ERAT-only mode, an attempt to access an address for which no ERAT entry exists causes an Instruction (for fetches) or Data (for load/store accesses) TLB Miss exception.

The purpose of the ERAT arrays is to reduce the latency of the address translation operation, and to avoid contention for the TLB?110?between instruction fetches and data accesses. The instruction ERAT (I-ERAT) contains sixteen entries, while the data ERAT (D-ERAT) contains thirty-two entries, and all entries are shared between the four A2 processing threads. There is no latency associated with accessing the ERAT arrays, and instruction execution continues in a pipelined fashion as long as the requested address is found in the ERAT. If the requested address is not found in the ERAT, the instruction fetch or data storage access is automatically stalled while the address is looked up in the TLB?110. If the address is found in the TLB?110, the penalty associated with the miss in the I-ERAT shadow array is 12 cycles, and the penalty associated with a miss in the D-ERAT shadow array is 19 cycles. If the address is also a miss in the TLB?110, then an Instruction or Data TLB Miss exception is reported.

When operating in MMU mode, the on-demand replacement of entries in the ERATs is managed by hardware in a least-recently-used (LRU) fashion. Upon an ERAT miss which leads to a TLB?110?hit, the hardware will automatically cast-out the oldest entry in the ERAT and replace it with the new translation. The TLB?110?and the ERAT can both be used to translate an effective or virtual address to a physical address. The TLB?110?and the ERAT may be generalized as "lookup tables".

The TLB?110?and TLB search logic device?112?function together to translate virtual addresses supplied from the SLB?106?into physical addresses. A prior art TLB search logic device?112?is shown in FIG. 3. A TLB search logic device?112?according to one embodiment of the invention is shown in FIG. 4. The TLB search logic device?112?facilitates the optimization of page entries in the TLB?110?as discussed in further detail below.

Referring to FIG. 2, the TLB search logic device?112?controls page identification and address translation, and contains page protection and storage attributes. The Valid (V), Effective Page Number (EPN), Translation Guest Space identifier (TGS), Translation Logical Partition identifier (TLPID), Translation Space identifier (TS), Translation ID (TID), and Page Size (SIZE) fields of a particular TLB entry identify the page associated with that TLB entry. In addition, the indirect (IND) bit of a TLB entry identifies it as a direct virtual to real translation entry (IND=0), or an indirect (IND=1) hardware page table pointer entry that requires additional processing. All comparisons using these fields should match to validate an entry for subsequent translation and access control processing. Failure to locate a matching TLB page entry based on the criteria for instruction fetches causes a TLB miss exception which results in issuance of an Instruction TLB error interrupt. Failure to locate a matching TLB page entry based on this criteria for data storage accesses causes a TLB miss exception which may result in issuance of a data TLB error interrupt, depending on the type of data storage access. Certain cache management instructions do not result in an interrupt if they cause an exception; these instructions may result in a no-op.

bubuko.com,布布扣

Page identification begins with the expansion of the effective address into a virtual address. The effective address is a 64-bit address calculated by a load, store, or cache management instruction, or as part of an instruction fetch. In one embodiment of a system employing the A2 processor, the virtual address is formed by prepending the effective address with a 1-bit ‘guest space identifier‘, an 8-bit ‘logical partition identifier‘, a 1-bit ‘address space identifier‘ and a 14-bit‘process identifier‘. The resulting 88-bit value forms the virtual address, which is then compared to the virtual addresses contained in the TLB page table entries. For instruction fetches, cache management operations, and for non-external PID storage accesses, these parameters are obtained as follows. The guest space identifier is provided by Machine State Register MACHINE STATE REGISTER[GS]. The logical partition identifier is provided by the Logical Partition ID (LPID) register. The process identifier is included in the Process ID (PID) register. The address space identifier is provided by MACHINE STATE REGISTER[IS] for instruction fetches, and by MACHINE STATE REGISTER[DS] for data storage accesses and cache management operations, including instruction cache management operations.

For external PID type load and store accesses, these parameters are obtained from the External PID Load Context (EPLC) or External PID Store Context (EPSC) registers. The guest space identifier is provided by EPL/SC[EGS] field. The logical partition identifier is provided by the EPL/SC[ELPID] field. The process identifier is provided by the EPL/SC[EPID] field, and the address space identifier is provided by EPL/SC[EAS].

The address space identifier bit differentiates between two distinct virtual address spaces, one generally associated with interrupt-handling and other system-level code and/or data, and the other generally associated with application-level code and/or data. Typically, user mode programs will run with MACHINE STATE REGISTER[IS,DS] both set to 1, allowing access to application-level code and data memory pages. Then, on an interrupt, MACHINE STATE REGISTER[IS,DS] are both automatically cleared to 0, so that the interrupt handler code and data areas may be accessed using system-level TLB entries (i.e., TLB entries with the TS field=0).

FIG. 2 is an overview of the translation of a 64 bit EA?202?into an 80 bit VA?210?as implemented in a system employing the PowerPC architecture. In one embodiment, the 64 bit EA?202?comprises three individual segments: an ‘effective segment ID‘?204, a ‘page index‘?206, and a ‘byte offset‘?208. The ‘effective segment ID‘?204?is passed to the SLB search logic device?108?which looks up a match in the SLB?106?to produce a 52 bit virtual segment ID (VSID)?212. The ‘page index‘?206?and byte offset?208?remain unchanged from the 64 bit EA?202, and are passed through and appended to the 52 bit VSID?212. In one embodiment, the ‘page index‘?206?is 16 bits and the byte offset?208?is 12 bits. The ‘byte offset‘?208?is 12 bits and allows every byte within a page to be addressed. A 4 KB page requires a 12 bit page offset to address every byte within the page, i.e., 212=4 KB. The VSID?212?and the ‘page index‘?206?are combined into a Virtual Page Number (VPN), which is used to select a particular page from a table entry within a TLB (TLB entries may be associated with more than one page). Thus, the VSID?212?and the ‘page index‘?206?is and the byte offset?208?are combined to form an 80 bit VA?210. A virtual page number (VPN) is formed from the VSID?212?and ‘page index‘?206. In one embodiment of the PowerPC architecture, the VPN comprises 68 bits. The VPN is passed to the TLB search logic device?112?which uses the VPN to look up a matching physical page number (RPN)?214in the TLB?110. The RPN?214?together with the 12 bit byte offset form a 64 bit physical address?216.

FIG. 3 is a TLB logic device?112?for matching a virtual address to a physical address. A match between a virtual address and the physical address is found by the TLB logic device?112?when all of the inputs into ‘AND‘ gate?318?are true, i.e., all of the input bits are set to 1. Each virtual address that is supplied to the TLB?110?is checked against every entry in the TLB?110.

bubuko.com,布布扣

The TLB logic device?112?comprises logic blocks?302?and logic block?329. Logic block?300?comprises ‘AND‘ gates?303?and?323, comparators?306,?309,310,?315,?317,?318?and?322, and ‘OR‘ gates?311?and?319. ‘AND‘ gate?303?that receives input from TLBentry[ThdID(t)] (thread identifier)?301?and ‘thread t valid‘?302. TLBentry[ThdID(t)]?301?identifies a hardware thread and in one implementation there are 4 thread ID bits per TLB entry. ‘Thread t valid‘?304indicates which thread is requesting a TLB lookup. The output of AND‘ gate?303?is 1 when the input of ‘thread t valid‘?302?is 1 and the value of ‘thread identifier‘ is 1.?301?The output of AND‘ gate?303?is coupled to ‘AND‘ gate?323.

Comparator?306?compares the values of inputs TLBentry[TGS]?304?and ‘GS‘?305. TLBentry[TGS]?304?is a TLB guest state identifier and ‘GS‘?305?is the current guest state of the processor. The output of comparator?306?is only true, i.e., a bit value of 1, when both inputs are of equal value. The output of comparator?306?is coupled to ‘AND‘ gate?323.

Comparator?309?determines if the value of the ‘logical partition identifier‘?307?in the virtual address is equal to the value of the TLPID field?308?of the TLB page entry. Comparator?310?determines if the value of the TLPID field?308?is equal to 0 (non-guest page). The outputs of comparators?309?and?310are supplied to an ‘OR‘ gate?311. The output of ‘OR‘ gate?311?is supplied to ‘AND‘ gate?323. The ‘AND‘ gate?323?also directly receives an input from ‘validity bit‘ TLBentry[V]?312. The output of ‘AND‘ gate?323?is only valid when the ‘validity bit‘?312?is set to 1.

Comparator?315?determines if the value of the ‘address space‘ identifier?314?is equal to the value of the ‘TS‘ field?313?of the TLB page entry. If the values match, then the output is?1. The output of the comparator?315?is coupled to ‘AND‘ gate?323.

Comparator?317?determines if the value of the ‘Process ID‘?324?is equal to the ‘TID‘ field?316?of the TLB page entry indicating a private page, or comparator?318?determines if the value of the TID field is 0, indicating a globally shared page. The output of comparators?317?and?318?are coupled to ‘OR‘ gate?319. The output of ‘OR‘ gate?319?is coupled to ‘AND‘ gate?323.

Comparator?322?determines if the value in the ‘effective page number‘ field?320?is equal to the value stored in the ‘EPN‘ field?321?of the TLB page entry. The number of bits N in the ‘effective page number‘?320?is calculated by subtracting log2?of the page size from the bit length of the address field. For example, if an address field is 64 bits long, and the page size is 4 KB, then the effective address field length is found according to equation 1:?

EA=0 to?N?1, where?N=Address Field Length?log2?(page size) (1)?

or by subtracting log2(212) or 12 from 64. Thus, only the first 52 bits, or bits?0?to?51?of the effective address are used in matching the ‘effective address‘320?field to the ‘EPN field‘?321. The output of comparator?322?is coupled to ‘AND‘ gate?323.

Logic block?329?comprises comparators?326?and?327?and ‘OR‘ gate?328. Comparator?326?determines if the value of bits ‘n:51‘?331?of the effective address (where n=64?log2(page size)) is greater than the value of bits n:51 of the ‘EPN‘ field?332?in the TLB entry. Normally, the LSB are not utilized in translating the EA to a physical address. When the value of bits n:51 of the effective address is greater than the value stored in the EPN field, the output of comparator?326?is 1. Comparator?327?determines if the TLB entry ‘exclusion bit‘?330?is set to 1. If the ‘exclusion bit‘?330?is set to 1, than the output of comparator?327?is 1. The ‘exclusion bit‘?330?functions as a signal to exclude a portion of the effective address range from the current TLB page. Applications or the operating system may then map subpages (pages smaller in size than the current page size) over the excluded region. In one example embodiment of an IBM BlueGene parallel computing system, the smallest page size is 4 KB and the largest page size is 1 GB. Other available page sizes within the IBM BlueGene parallel computing system include 64 KB, 16 MB, and 256 MB pages. As an example, a 64 KB page may have a 16 KB range excluded from the base of the page. In other implementations, the comparator may be used to excluded a memory range from the top of the page. In one embodiment, an application may map additional pages smaller in page size than the original page, i.e., smaller than 16 KB into the area defined by the excluded range. In the example above, up to four additional 4 KB pages may be mapped into the excluded 16 KB range. Note that in some embodiments, the entire area covered by the excluded range is not always available for overlapping additional pages. It is also understood that the combination of logic gates within the TLB search logic device?112?may be replaced by any combination of gates that result in logically equivalent outcomes.

A page entry in the TLB?110?is only matched to an EA when all of the inputs into the ‘AND‘ gate?323?are true, i.e., all the input bits are 1. Referring back to FIG. 2, the page table entry (PTE)?212?matched to the EA by the TLB search logic device?112?provides the physical address?216?in memory where the data requested by the effective address is stored.

FIGS. 3 and 4 together illustrate how the TLB search logic device?112?is used to optimize page entries in the TLB?110. One of the limiting properties of prior art TLB search logic devices is that, for a given page size, the page start address must be aligned to the page size. This requires that larger pages are placed adjacent to another in a contiguous memory range or that the gaps between large pages are filled in with numerous smaller pages. This requires the use of more TLB page entries to define a large contiguous range of memory.

FIG. 4 is a table that provides which bits within a virtual address are used by the TLB search logic device?112?to match the virtual address to a physical address and which ‘exclusion range‘ bits are used to map a ‘hole‘ or an exclusion range into an existing page. FIGS. 3 and 4 are based on the assumption that the processor core utilized is a PowerPC? A2 core, the EA is 64 bits in length, and the smallest page size is 4 KB. Other processor cores may implement effective addresses of a different length and benefit from additional page sizes.

bubuko.com,布布扣

Referring now to FIG. 4, column?402?of the table lists the available page sizes in the A2 core used in one implementation of the BlueGene parallel computing system. Column?404?lists all the calculated values of log2?(page size). Column?406?lists the number of bits, i.e. MSB, required by the TLB search logic device?112?to match the virtual address to a physical address. Each entry in column?406?is found by subtracting log2?(page size) from 64.

Column?408?lists the ‘effective page number‘ (EPN) bits associated with each page size. The values in column?408?are based on the values calculated in column?406. For example, the TLB search logic device?112?requires all 52 bits (bits?0:51) of the EPN to look up the physical address of a 4 KB page in the TLB?110. In contrast, the TLB search logic device?112?requires only 34 bits (bits?0:33) of the EPN to look up the physical address of a 1 GB page in the TLB?110. Recall that in one example embodiment, the EPN is formed by a total of 52 bits. Normally, all of the LSB (the bits after the EPN bits) are set to 0. Exclusion ranges may be carved out of large size pages in units of 4 KB, i.e., when TLBentry[X] bit?330?is 1, the total memory excluded from the effective page is 4KB*((value of Exclusion range bits?440)+1). When the exclusion bit is set to 1 (X=1), even if the LSBs in the virtual page number are set to 0, a 4 KB page is still excluded from a large size page.

A 64 KB page only requires bits 0:47 within the EPN field to be set for the TLB search logic device?112?to find a matching value in the TLB?110. An exclusion range within the 64 KB page can be provided by setting LSBs 48:51 to any value except all ‘1‘s. Note that the only page size smaller than 64 KB is 4 KB. One or more 4 KB pages can be mapped by software into the excluded memory region covered by the 64 KB page when the TLBentry[X] (exclusion) bit is set to 1. When the TLB search logic device?112?maps a virtual address to a physical address and the TLB exclusion bit is also set to 1, the TLB search logic device?112?will return a physical address that maps to the 64 KB page outside the exclusion range. If the TLB exclusion bit is set to 0, the TLB search logic device?112?will return a physical address that maps to the whole area of the 64 KB page.

An application or the operating system may access the non excluded region within a page when the ‘exclusion bit‘?330?is set to 1. When this occurs, the TLB search logic device?112?uses the MSB to map the virtual address to a physical address that corresponds to an area within the non excluded region of the page. When the ‘exclusion bit‘?330?is set to 0, then the TLB search logic device?112?uses the MSB to map the virtual address to a physical address that corresponds to a whole page.

In one embodiment of the invention, the size of the exclusion range is configurable to M×4 KB, where M=1 to (TLB entry page size in bytes/212)?1. The smallest possible exclusion range is 4 KB, and successively larger exclusion ranges are multiples of 4 KB. In another embodiment of the invention, such as in the A2 core, for simplicity, M is further restricted to 2n, where n=0 to log2(TLB entry page size)?13, i.e., the possible excluded ranges are 4KB, 8KB, 16KB, up to (page size)/2. Additional TLB entries may be mapped into the exclusion range. Pages mapped into the exclusion range cannot overlap and pages mapped in the exclusion range must be collectively fully contained within the exclusion range. The pages mapped into the exclusion range are known as subpages.

Once a TLB page table entry has been deleted from the TLB?110?by the operating system, the corresponding memory indicated by the TLB page table entry becomes available to store new or additional pages and subpages. TLB page table entries are generally deleted when their corresponding applications or processes are terminated by the operating system.

FIG. 5 is an example of how page table entries are created in a TLB?110?in accordance with the prior art. For simplification purposes only, the example assumes that only two page sizes, 64 KB and 1 MB are allowable. Under the prior art, once a 64 KB page is created in a 1 MB page, only additional 64 KB page entries may be used to map the remaining virtual address in the 1 MB page until a contiguous 1 MB area of memory is filled. This requires a total of 16 page table entries, i.e.,?5021,?5022?to?50216?in the TLB?110.

bubuko.com,布布扣

FIG. 6 is an example of how page table entries are created in a TLB?110?in accordance with the present invention. Different size pages may be used next to one another. For example, PTE?602?is a 64 KB page table entry and PTE?604?is a 1 MB page table entry. In one embodiment, PTE?604?has a 64 KB ‘exclusion range‘?603?excluded from the base corresponding to the area occupied by PTE?602. The use of an exclusion range allows the 1MB memory space to be covered by only 2 page table entries in the TLB?110, whereas in FIG. 5 sixteen page table entries were required to cover the same range of memory. In one embodiment, when the ‘exclusion bit‘ is set, the first 64 KB of the 1 MB page specified by PTE?604?will not match the virtual address, i.e., this area is excluded. In other embodiments of the invention, the excluded range may begin at the top of the page.

Referring now to FIG. 7, there is shown the overall architecture of a multiprocessor compute node?700?implemented in a parallel computing system in which the present invention may be implemented. In one embodiment, the multiprocessor system implements a BLUEGENE? torus interconnection network, which is further described in the journal article ‘Blue Gene/L torus interconnection network‘ N. R. Adiga, et al., IBM J. Res. & Dev. Vol. 49, 2005, the contents of which are incorporated by reference in its entirety. Although the BLUEGENE?/L torus architecture comprises a three-dimensional torus, it is understood that the present invention also functions in a five-dimensional torus, such as implemented in the BLUEGENE?/Q massively parallel computing system comprising compute node ASICs (BQC), each compute node including multiple processor cores.

bubuko.com,布布扣

The compute node?700?is a single chip (‘nodechip‘) based on low power A2 PowerPC cores, though the architecture can use any low power cores, and may comprise one or more semiconductor chips. In the embodiment depicted, the node includes 16 PowerPC A2 cores running at 1600 MHz.

More particularly, the basic compute node?700?of the massively parallel supercomputer architecture illustrated in FIG. 2 includes in one embodiment seventeen (16+1) symmetric multiprocessing (PPC) cores?752, each core being 4-way hardware threaded and supporting transactional memory and thread level speculation, including a memory management unit (MMU)?100?and Quad Floating Point Unit (FPU)?753?on each core (204.8 GF peak node). In one implementation, the core operating frequency target is 1.6 GHz providing, for example, a 563 GB/s bisection bandwidth to shared L2 cache?70?via a full crossbar switch?60. In one embodiment, there is provided 32 MB of shared L2 cache?70, each core having an associated 2MB of L2 cache?72. There is further provided external DDR SDRAM (i.e., Double Data Rate synchronous dynamic random access) memory?780, as a lower level in the memory hierarchy in communication with the L2. In one embodiment, the node includes 42.6 GB/s DDR3 bandwidth (1.333 GHz DDR3) (2 channels each with chip kill protection).

Each MMU?100?receives data accesses and instruction accesses from their associated processor cores?752?and retrieves information requested by the core?752?from memory such as the L1 cache?755, L2 cache?770, external DDR3?780, etc.

Each FPU?753?associated with a core?752?has a 32B wide data path to the L1-cache?755, allowing it to load or store 32B per cycle from or into the L1-cache?755. Each core?752?is directly connected to a prefetch unit (level-1 prefetch, L1P)?758, which accepts, decodes and dispatches all requests sent out by the core?752. The store interface from the core?752?to the L1P?755?is 32B wide and the load interface is 16B wide, both operating at the processor frequency. The L1P?755?implements a fully associative, 32 entry prefetch buffer. Each entry can hold an L2 line of 328B size. The L1P provides two prefetching schemes for the prefetch unit?758: a sequential prefetcher as used in previous BLUEGENE? architecture generations, as well as a list prefetcher. The prefetch unit is further disclosed in U.S. patent application Ser. No. 11/767,717, which is incorporated by reference in its entirety.

As shown in FIG. 7, the 32MB shared L2 is sliced into 16 units, each connecting to a slave port of the switch?60. Every physical address is mapped to one slice using a selection of programmable address bits or a XOR-based hash across all address bits. The L2-cache slices, the L1Ps and the L1-D caches of the A2s are hardware-coherent. A group of 4 slices is connected via a ring to one of the two DDR3 SDRAM controllers?778.

By implementing a direct memory access engine referred to herein as a Messaging Unit, ‘MU‘ such as MU?750, with each MU including a DMA engine and a Network Device?750?in communication with the crossbar switch?760, chip I/O functionality is provided. In one embodiment, the compute node further includes, in a non-limiting example: 10 intra-rack interprocessor links?790, each operating at 2.0GB/s, i.e., 10*2GB/s intra-rack & inter-rack (e.g., configurable as a 5-D torus in one embodiment); and, one I/O link?792?interfaced with the MU?750?at 2.0 GB/s (2 GB/s I/O link (to I/O subsystem)) is additionally provided. The system node?750?employs or is associated and interfaced with an 8-16 GB memory/node (not shown).

Although not shown, each A2 processor core?752?has associated a quad-wide fused multiply-add SIMD floating point unit, producing 8 double precision operations per cycle, for a total of 328 floating point operations per cycle per compute node. A2 is a 4-way multi-threaded 64b PowerPC implementation. Each A2 processor core?752?has its own execution unit (XU), instruction unit (IU), and quad floating point unit (QPU) connected via the AXU (Auxiliary eXecution Unit). The QPU (Reference 3) is an implementation of the 4-way SIMD QPX floating point instruction set architecture. QPX is an extension of the scalar PowerPC floating point architecture. It defines 32 32B-wide floating point registers per thread instead of the traditional 32 scalar 8B-wide floating point registers.

FIG. 8 is an overview of the A2 processor core organization. The A2 core includes a concurrent-issue instruction fetch and decode unit with attached branch unit, together with a pipeline for complex integer, simple integer, and load/store operations. The A2 core also includes a memory management unit (MMU); separate instruction and data cache units; Pervasive and debug logic; and timer facilities.

bubuko.com,布布扣

The instruction unit of the A2 core fetches, decodes, and issues two instructions from different threads per cycle to any combination of the one execution pipeline and the AXU interface (see "Execution Unit" below, and Auxiliary Processor Unit (AXU) Port on page 49). The instruction unit includes a branch unit which provides dynamic branch prediction using a branch history table (BHT). This mechanism greatly improves the branch prediction accuracy and reduces the latency of taken branches, such that the target of a branch can usually be run immediately after the branch itself, with no penalty.

The A2 core contains a single execution pipeline. The pipeline consists of seven stages and can access the five-ported (three read, two write) GPR file. The pipeline handles all arithmetic, logical, branch, and system management instructions (such as interrupt and TLB management, move to/from system registers, and so on) as well as arithmetic, logical operations and all loads, stores and cache management operations. The pipelined multiply unit can perform 32-bit×32-bit multiply operations with single-cycle throughput and single-cycle latency. The width of the divider is 64 bits. Divide instructions dealing with 64 bit operands recirculate for 65 cycles, and operations with 32 bit operands recirculate for 32 cycles. No divide instructions are pipelined, they all require some recirculation. All misaligned operations are handled in hardware, with no penalty on any operation which is contained within an aligned 32-byte region. The load/store pipeline supports all operations to both big endian and little endian data regions.

The A2 core provides separate instruction and data cache controllers and arrays, which allow concurrent access and minimize pipeline stalls. The storage capacity of the cache arrays 16KB each. Both cache controllers have 64-byte lines, with 4-way set-associativity I-cache and 8-way set-associativity D-cache. Both caches support parity checking on the tags and data in the memory arrays, to protect against soft errors. If a parity error is detected, the CPU will force a L1 miss and reload from the system bus. The A2 core can be configured to cause a machine check exception on a D-cache parity error. The PowerISA instruction set provides a rich set of cache management instructions for software-enforced coherency.

The ICC delivers up to four instructions per cycle to the instruction unit of the A2 core. The ICC also handles the execution of the PowerISA instruction cache management instructions for coherency.

The DCC handles all load and store data accesses, as well as the PowerISA data cache management instructions. All misaligned accesses are handled in hardware, with cacheable load accesses that are contained within a double quadword (32 bytes) being handled as a single request and with cacheable store or caching inhibited loads or store accesses that are contained within a quadword (16 bytes) being handled as a single request. Load and store accesses which cross these boundaries are broken into separate byte accesses by the hardware by the micro-code engine. When in 32 Byte store mode, all misaligned store or load accesses contained within a double quadword (32 bytes) are handled as a single request. This includes cacheable and caching inhibited stores and loads. The DCC interfaces to the AXU port to provide direct load/store access to the data cache for AXU load and store operations. Such AXU load and store instructions can access up to 32 bytes (a double quadword) in a single cycle for cacheable accesses and can access up to 16 bytes (a quadword) in a single cycle for caching inhibited accesses. The data cache always operates in a write-through manner. The DCC also supports cache line locking and "transient" data via way locking. The DCC provides for up to eight outstanding load misses, and the DCC can continue servicing subsequent load and store hits in an out-of-order fashion. Store-gathering is not performed within the A2 core.

The A2 Core supports a flat, 42-bit (4TB) real (physical) address space. This 42-bit real address is generated by the MMU, as part of the translation process from the 64-bit effective address, which is calculated by the processor core as an instruction fetch or load/store address. Note: In 32-bit mode, the A2 core forces bits?0:31?of the calculated 64-bit effective address to zeroes. Therefore, to have a translation hit in 32-bit mode, software needs to set the effective address upper bits to zero in the ERATs and TLB. The MMU provides address translation, access protection, and storage attribute control for embedded applications. The MMU supports demand paged virtual memory and other management schemes that require precise control of logical to physical address mapping and flexible memory protection. Working with appropriate system level software, the MMU provides the following functions:

  • Translation of the 88-bit virtual address 1-bit "guest state" (GS), 8-bit logical partition ID (LPID), 1-bit "address space" identifier (AS), 14-bit Process ID (PID), and 64-bit effective address) into the 42-bit real address (note the 1-bit "indirect entry" IND bit is not considered part of the virtual address)
  • Page level read, write, and execute access control
  • Storage attributes for cache policy, byte order (endianness), and speculative memory access
  • Software control of page replacement strategy

The translation lookaside buffer (TLB) is the primary hardware resource involved in the control of translation, protection, and storage attributes. It consists of 512 entries, each specifying the various attributes of a given page of the address space. The TLB is 4-way set associative. The TLB entries may be of type direct (IND=0), in which case the virtual address is translated immediately by a matching entry, or of type indirect (IND=1), in which case the hardware page table walker is invoked to fetch and install an entry from the hardware page table.

The TLB tag and data memory arrays are parity protected against soft errors; if a parity error is detected during an address translation, the TLB and ERAT caches treat the parity error like a miss and proceed to either reload the entry with correct parity (in the case of an ERAT miss, TLB hit) and set the parity error bit in the appropriate FIR register, or generate a TLB exception where software can take appropriate action (in the case of a TLB miss).

An operating system may choose to implement hardware page tables in memory that contain virtual to logical translation page table entries (PTEs) per Category E.PT. These PTEs are loaded into the TLB by the hardware page table walker logic after the logical address is converted to a real address via the LRAT per Category E.HV.LRAT. Software must install indirect (IND=1) type TLB entries for each page table that is to be traversed by the hardware walker. Alternately, software can manage the establishment and replacement of TLB entries by simply not using indirect entries (i.e. by using only direct IND=0 entries). This gives system software significant flexibility in implementing a custom page replacement strategy. For example, to reduce TLB thrashing or translation delays, software can reserve several TLB entries for globally accessible static mappings. The instruction set provides several instructions for managing TLB entries. These instructions are privileged and the processor must be in supervisor state in order for these instructions to be run.

The first step in the address translation process is to expand the effective address into a virtual address. This is done by taking the 64-bit effective address and prepending to it a 1-bit "guest state" (GS) identifier, an 8-bit logical partition ID (LPID), a 1-bit "address space" identifier (AS), and the 14-bit Process identifier (PID). The 1-bit "indirect entry" (IND) identifier is not considered part of the virtual address. The LPID value is provided by the LPIDR register, and the PID value is provided by the PID register (see Memory Management on page 177).

The GS and AS identifiers are provided by the Machine State Register which contains separate bits for the instruction fetch address space (MACHINE STATE REGISTER[S]) and the data access address space (MACHINE STATE REGISTER[DS]). Together, the 64-bit effective address, and the other identifiers, form an 88-bit virtual address. This 88-bit virtual address is then translated into the 42-bit real address using the TLB.

The MMU divides the address space (whether effective, virtual, or real) into pages. Five direct (IND=0) page sizes (4KB, 64KB, 1MB, 16MB, 1GB) are simultaneously supported, such that at any given time the TLB can contain entries for any combination of page sizes. The MMU also supports two indirect (IND=1) page sizes (1MB and 256 MB) with associated sub-page sizes (refer to Section 6.16 Hardware Page Table Walking (Category E.PT)). In order for an address translation to occur, a valid direct entry for the page containing the virtual address must be in the TLB. An attempt to access an address for which no TLB direct exists results in a search for an indirect TLB entry to be used by the hardware page table walker. If neither a direct or indirect entry exists, an Instruction (for fetches) or Data (for load/store accesses) TLB Miss exception occurs.

To improve performance, both the instruction cache and the data cache maintain separate "shadow" TLBs called ERATs. The ERATs contain only direct (IND=0) type entries. The instruction I-ERAT contains 16 entries, while the data D-ERAT contains 32 entries. These ERAT arrays minimize TLB contention between instruction fetch and data load/store operations. The instruction fetch and data access mechanisms only access the main unified TLB when a miss occurs in the respective ERAT. Hardware manages the replacement and invalidation of both the I-ERAT and D-ERAT; no system software action is required in MMU mode. In ERAT-only mode, an attempt to access an address for which no ERAT entry exists causes an Instruction (for fetches) or Data (for load/store accesses) TLB Miss exception.

Each TLB entry provides separate user state and supervisor state read, write, and execute permission controls for the memory page associated with the entry. If software attempts to access a page for which it does not have the necessary permission, an Instruction (for fetches) or Data (for load/store accesses) Storage exception will occur.

Each TLB entry also provides a collection of storage attributes for the associated page. These attributes control cache policy (such as cachability and write-through as opposed to copy-back behavior), byte order (big endian as opposed to little endian), and enabling of speculative access for the page. In addition, a set of four, user-definable storage attributes are provided. These attributes can be used to control various systemlevel behaviors.

As will be appreciated by one skilled in the art, aspects of the present invention may be embodied as a system, method or computer program product. Accordingly, aspects of the present invention may take the form of an entirely hardware embodiment, an entirely software embodiment (including firmware, resident software, micro-code, etc.) or an embodiment combining software and hardware aspects that may all generally be referred to herein as a ‘circuit,‘ module‘ or ‘system.‘ Furthermore, aspects of the present invention may take the form of a computer program product embodied in one or more computer readable medium(s) having computer readable program code embodied thereon.

Any combination of one or more computer readable medium(s) may be utilized. The computer readable medium may be a computer readable signal medium or a computer readable storage medium. A computer readable storage medium may be, for example, but not limited to, an electronic, magnetic, optical, electromagnetic, infrared, or semiconductor system, apparatus, or device, or any suitable combination of the foregoing. More specific examples (a non-exhaustive list) of the computer readable storage medium would include the following: an electrical connection having one or more wires, a portable computer diskette, a hard disk, a random access memory (RAM), a read-only memory (ROM), an erasable programmable read-only memory (EPROM or Flash memory), an optical fiber, a portable compact disc read-only memory (CD-ROM), an optical storage device, a magnetic storage device, or any suitable combination of the foregoing. In the context of this document, a computer readable storage medium may be any tangible medium that can contain, or store a program for use by or in connection with an instruction operation system, apparatus, or device.

A computer readable signal medium may include a propagated data signal with computer readable program code embodied therein, for example, in baseband or as part of a carrier wave. Such a propagated signal may take any of a variety of forms, including, but not limited to, electro-magnetic, optical, or any suitable combination thereof. A computer readable signal medium may be any computer readable medium that is not a computer readable storage medium and that can communicate, propagate, or transport a program for use by or in connection with an instruction operation system, apparatus, or device.

Program code embodied on a computer readable medium may be transmitted using any appropriate medium, including but not limited to wireless, wireline, optical fiber cable, RF, etc., or any suitable combination of the foregoing.

Computer program code for carrying out operations for aspects of the present invention may be written in any combination of one or more programming languages, including an object oriented programming language such as Java, Smalltalk, C++ or the like and conventional procedural programming languages, such as the ‘C‘ programming language or similar programming languages. The program code may execute entirely on the user‘s computer, partly on the user‘s computer, as a stand-alone software package, partly on the user‘s computer and partly on a remote computer or entirely on the remote computer or server. In the latter scenario, the remote computer may be connected to the user‘s computer through any type of network, including a local area network (LAN) or a wide area network (WAN), or the connection may be made to an external computer (for example, through the Internet using an Internet Service Provider).

Aspects of the present invention are described below with reference to flowchart illustrations and/or block diagrams of methods, apparatus (systems) and computer program products according to embodiments of the invention. It will be understood that each block of the flowchart illustrations and/or block diagrams, and combinations of blocks in the flowchart illustrations and/or block diagrams, can be implemented by computer program instructions. These computer program instructions may be provided to a processor of a general purpose computer, special purpose computer, or other programmable data processing apparatus to produce a machine, such that the instructions, which execute via the processor of the computer or other programmable data processing apparatus, create means for implementing the functions/acts specified in the flowchart and/or block diagram block or blocks.

These computer program instructions may also be stored in a computer readable medium that can direct a computer, other programmable data processing apparatus, or other devices to function in a particular manner, such that the instructions stored in the computer readable medium produce an article of manufacture including instructions which implement the function/act specified in the flowchart and/or block diagram block or blocks.

The computer program instructions may also be loaded onto a computer, other programmable data processing apparatus, or other devices to cause a series of operational steps to be performed on the computer, other programmable apparatus or other devices to produce a computer implemented process such that the instructions which execute on the computer or other programmable apparatus provide processes for implementing the functions/acts specified in the flowchart and/or block diagram block or blocks.

Referring now to FIGS. 1 through 8. The flowchart and block diagrams in the Figures illustrate the architecture, functionality, and operation of possible implementations of systems, methods and computer program products according to various embodiments of the present invention. In this regard, each block in the flowchart or block diagrams may represent a module, segment, or portion of code, which comprises one or more executable instructions for implementing the specified logical function(s). It should also be noted that, in some alternative implementations, the functions noted in the block may occur out of the order noted in the figures. For example, two blocks shown in succession may, in fact, be operated substantially concurrently, or the blocks may sometimes be operated in the reverse order, depending upon the functionality involved. It will also be noted that each block of the block diagrams and/or flowchart illustration, and combinations of blocks in the block diagrams and/or flowchart illustration, can be implemented by special purpose hardware-based systems that perform the specified functions or acts, or combinations of special purpose hardware and computer instructions.

While the present invention has been particularly shown and described with respect to preferred embodiments thereof, it will be understood by those skilled in the art that the foregoing and other changes in forms and details may be made without departing from the spirit and scope of the present invention. It is therefore intended that the present invention not be limited to the exact forms and details described and illustrated, but fall within the scope of the appended claims.

SRC=http://www.freepatentsonline.com/8856490.html

Optimizing TLB entries for mixed page size storage in contiguous memory

原文:http://www.cnblogs.com/coryxie/p/4048325.html

(0)
(0)
   
举报
评论 一句话评论(0
关于我们 - 联系我们 - 留言反馈 - 联系我们:wmxa8@hotmail.com
© 2014 bubuko.com 版权所有
打开技术之扣,分享程序人生!